Erleichterter Zugang zum 125er-Schein seit heute möglich
Monat: Dezember 2019
Royal Enfield sichert sich neue Namen
Glemseck 101 mit extra Klasse für alternative Antriebe
Wassergekühlte Helme für heiße Sommertage?
Mit 180 km/h über die Stadtautobahn
Wegen einer Schulterverletzung musste Leon Camier nun doch operiert werden. Noch ist nicht klar, ob er zum Start der WSBK 2020 fit sein wird.
Arbeitet Indian an einem Adventure-Motorrad?
Harley-Davidson Pan America, ein zweirädriger Jeep
Manuel Lettenbichler fährt für Red Bull KTM Factory Racing
Details zur BMW G 310 RR für 2020
Klage gegen Guy Martin fallengelassen
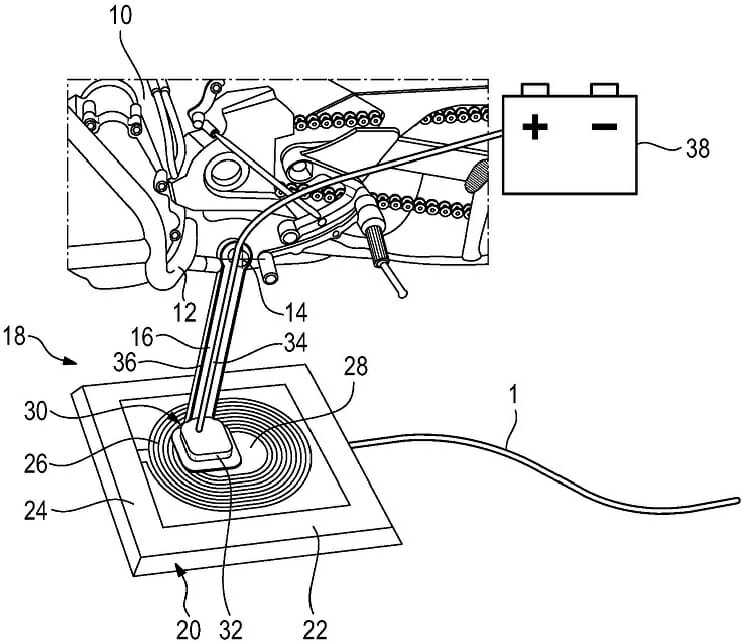
BMW-Patent: Kabelloses Laden von Elektromotorrädern
Elektro-Sport-Motorrad Vins EV-01
Wegen Dopingvorwürfen gegen Iannone, Aprilia such schon mal möglichen Ersatzfahrer für Sepang-Test
OMG Racing: Isle of Man TT Debüt mit James Hillier und David Johnson
Kawasaki Patent eines Dreirädrigen Motorrads
Komplett neue Suzuki Hayabusa im Jahr 2021?
Motorräder, Führerscheine und Datenträger sichergestellt (Aufgrund einer Zeugenaussage)
Honda Smartphone as Brain
Kommt eine Mini-Katana?





















