- BMW files patent for a fully enclosed two-wheeler with eight retractable support wheels
- The teardrop-shaped vehicle aims to combine maximum aerodynamics with weather protection
- BMW has filed numerous patents relating to enclosed two-wheelers since 2020
The idea of a fully enclosed motorcycle is nothing new. Manufacturers and engineers have repeatedly attempted to wrap a two-wheeler entirely in bodywork to achieve better aerodynamics, weather protection and even car-like safety. Yet the concept has never gained mainstream traction. The fact that BMW is now actively filing a whole series of patent applications in this area could give the topic fresh momentum.

Eight Support Wheels Instead of a Gyroscope or Two Outriggers
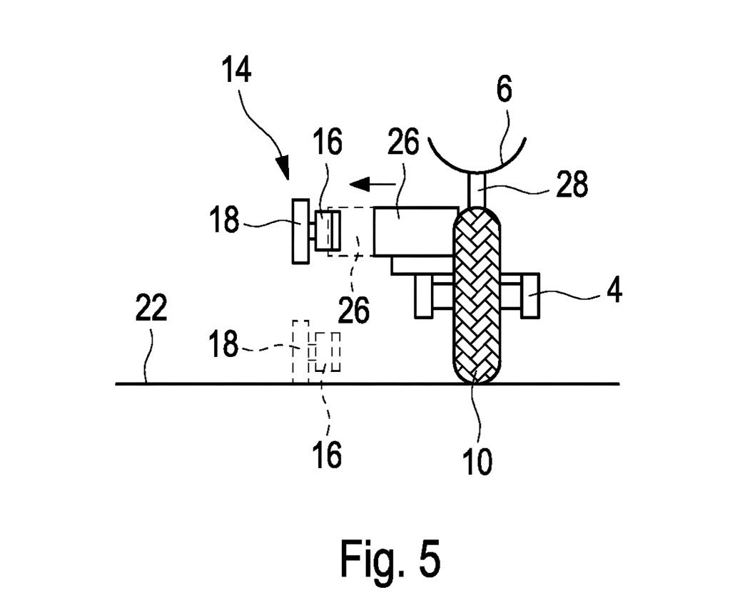
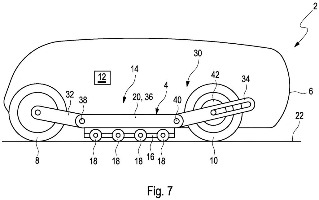
The central problem of a fully enclosed two-wheeler is simple: it tips over when stationary because the rider cannot put a foot on the ground. Various approaches have been tried over the years to solve this problem. Swiss manufacturer Peraves, whose Ecomobile first hit the market in 1984 with a BMW engine, uses two laterally extending support wheels on its successor, the Monoracer. The 1967 Gyro-X experimented with a gyroscope – a heavy rotating flywheel designed to keep the vehicle balanced.
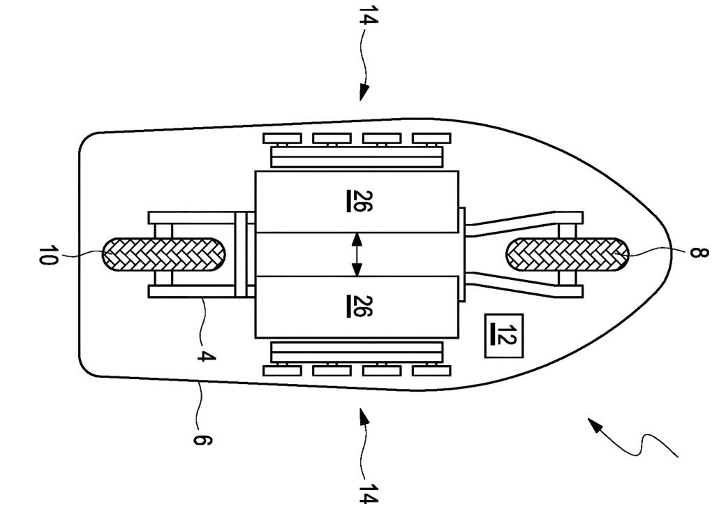
BMW takes a different approach in its new patent. The patent specification dismisses gyroscopes due to their high weight and instead opts for a total of eight support wheels arranged in two rows of four. The advantage over Peraves’ two-wheel system, according to the patent, lies in the reduced overall width. Peraves positions its two support wheels far apart to ensure sufficient stability even on uneven surfaces. With eight wheels, BMW argues this is unnecessary – even if one or two support wheels happen to sit over a pothole or uneven surface, the remaining wheels are sufficient to keep the vehicle securely upright. The patent shows several variants of the deployment mechanism.
Teardrop Shape for Maximum Efficiency
The advantages of the enclosed design are clearly stated in the patent specification: the vehicle takes up comparatively little space on the road, the rider is protected from wind and weather, and the combination of a small frontal area and smooth aerodynamics promises high efficiency. This is particularly relevant in the context of electric drivetrains, as less air resistance directly translates to greater range for the same battery capacity.
The Peraves Monoracer serves as a comparison – it is currently available as a purely electric variant. With a 130 kW (177 hp) electric motor and a 28.5 kWh battery, it is said to achieve a top speed of 250 km/h (155 mph) and a range of up to 400 kilometres (249 miles) thanks to its aerodynamically optimised shape. These figures demonstrate what is theoretically possible with a streamlined single-track vehicle.

BMW and the History of Enclosed Two-Wheelers
The new patent forms part of a whole series of developments through which BMW has been advancing the concept of enclosed two-wheelers for years. As early as 2020, the company had filed no fewer than 15 patents relating to a roofed electric two-wheeler. This older concept was based on the chassis and drivetrain of the electric BMW C Evolution and pursued a markedly different approach to the current patent.
The 2020 patents centred on a detachable carbon-fibre safety cell designed to offer the rider car-like protection. The structure consisted of two carbon hoops attached to the vehicle via deformable crash structures that would act as crumple zones in the event of an accident. Integrated into the safety cell were three-point seatbelts with pretensioners as well as side airbags that would deploy curtain-like from head to hip. The distinctive feature was that the entire protective structure could be unbolted, allowing the vehicle to be used as a conventional, lighter electric scooter at weekends.
In addition, the older patents showed active aerodynamics with four winglets – two at the front and two at the rear – which automatically adjusted their angle of attack via an IMU-based stability control system with yaw sensors and gyroscopes. The purpose of this system was to compensate for crosswinds, which would act on the tall roof structure like a sail. Further practical details included mirrors integrated into the windscreen pillars and an air duct from the vehicle nose to the inside of the screen to prevent fogging.
From the BMW C1 to the Vision CE Concept
BMW is no stranger to this field. At the turn of the millennium, the company brought the C1 to market – a roofed scooter with a safety cell. The C1 was intended to offer commuters a weatherproof and safe alternative to conventional scooters, but failed after just two years of production (2000 to 2002) due to poor sales figures. With its 125 cc single-cylinder engine, the vehicle was simply underpowered for its kerb weight of 185 kg (408 lbs), while being significantly more expensive than conventional scooters.
BMW also presented the Concept Simple in 2008 and the Concept C.L.E.V.E.R. in 2009, both narrow, three-wheeled concept vehicles that could lean into corners and thus aimed for a similar ride dynamic to the current patent.

Will the Patent Become a Production Vehicle?
Whether the current patent application will ever result in a production vehicle remains open. Patents initially only protect ideas and technical solutions without necessarily implying a production decision. However, the persistence with which BMW has been filing patents in this area for years suggests that the topic is clearly being taken seriously internally.
In the context of the mobility transition and the growing importance of electric vehicles, an aerodynamically optimised, enclosed two-wheeler could well find a niche. Less air resistance directly translates to greater range with electric drivetrains, and the complete weather protection combined with the small road footprint could make the vehicle attractive to commuters. Until then, however, BMW’s teardrop-shaped two-wheeler with its eight support wheels remains nothing more than a fascinating technical study on paper.

- Milestone MotoGP 25 (Day One Edition) – Sony PlayStation 5 – Rennspiel – PEGI 3








