- Using the Magnus effect to generate downforce
- Rotating cylinders instead of fixed winglets
- Electrically powered, variably adjustable
For several years now, aerodynamic aids have been playing an increasingly important role in motorcycle design. Winglets, in particular, are now widely used in the sports segment. A recent patent from BMW now shows an alternative approach that reinterprets familiar aerodynamic principles and applies them to motorcycles.

Aerodynamics based on the Magnus effect
The concept is based on the Magnus effect. This involves a rotating cylinder creating different pressure conditions on its upper and lower sides in the air stream. The result is similar to the effect of a wing, but without its classic shape. This principle has been known since the 19th century and has been used in shipping, among other things, where rotating cylinders served as a replacement or support for sails.
BMW has taken up this idea and applied it to motorcycles. Instead of permanently mounted winglets, small rotating cylinders are designed to generate downforce in a targeted manner and be less dependent on the current chassis position.
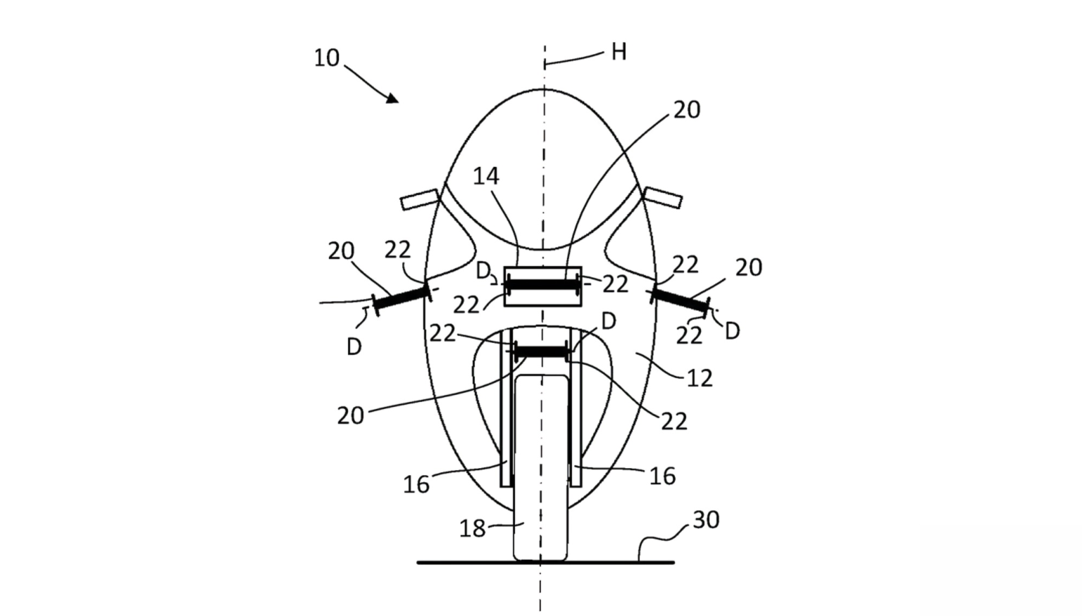
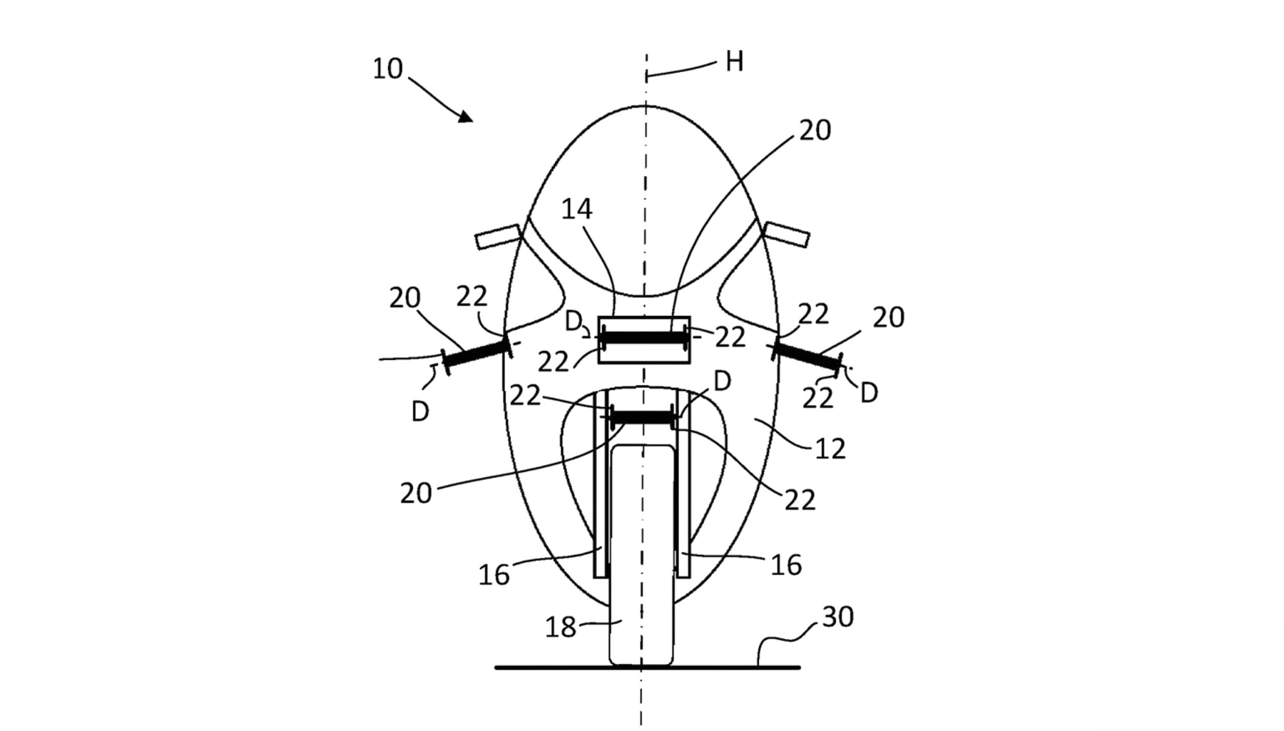
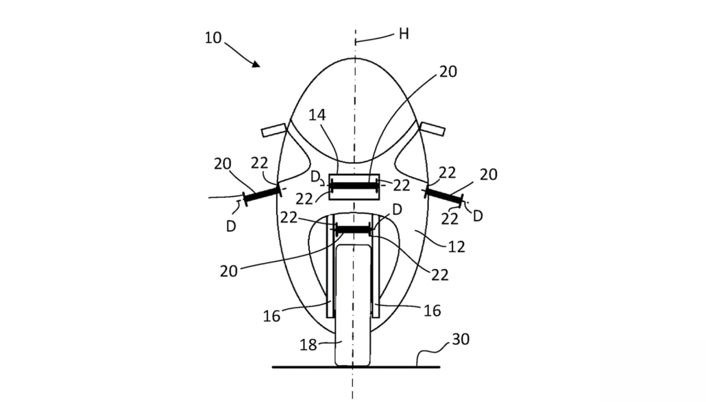
Design and possible positioning of the rotors
The patent describes several possible installation locations. Among other things, two rotors are planned on the sides of the front, similar to the current winglet positions. In addition, BMW mentions one rotor between the fork legs, another in the area of the air intake on the front fairing, and a fifth rotor at the rear to generate downforce on the rear wheel.
The cylinders are to be around 20 centimeters long and have a diameter of around 4 to 5 centimeters. They are driven by electric motors located in the base of the rotors. The speed is to be in the range of 50,000 to 100,000 revolutions per minute. According to the patent description, a speed of around 80,000 revolutions per minute is considered particularly efficient.
Advantages over classic winglets
A key argument in favor of using Flettner rotors is their lower sensitivity to pitching movements of the motorcycle. While fixed winglets lose their effect when the front wheel is raised sharply or can even produce unfavorable effects, the rotating cylinder is designed to maintain its downforce even when the vehicle’s position changes.
Another advantage is their independent controllability. The speed of the rotors can be adjusted independently of the driving speed. This would make it possible to generate additional downforce when accelerating out of slow corners, while reducing or completely stopping rotation on straights to reduce air resistance.
In addition, the direction of rotation can also be changed. When leaning, the side rotors could be controlled differently. The outer rotor generates downforce, while the inner rotor rotates in the opposite direction and is designed to pull the motorcycle aerodynamically toward the inside of the curve. The system could thus support steering response.
Differentiation from adjustable winglets
In principle, similar effects can also be achieved with adjustable or actively controlled winglets. Similar concepts have recently been demonstrated by other manufacturers. However, BMW sees potential advantages in terms of weight and controllability in the rotating cylinders. While movable wings require powerful actuators to adjust against air pressure, the rotors are to be controlled solely by their speed.
Whether and when such a system will actually go into series production remains to be seen. Patents primarily serve to protect technical ideas. Nevertheless, the approach shows that BMW is continuing to work intensively on new solutions for motorcycle aerodynamics.
What does this mean for me as a motorcyclist?
If such a system were to go into series production one day, it would mean above all that aerodynamic support could be used in a more targeted and situation-dependent manner than before. Downforce would no longer be a fixed characteristic at high speeds, but could also be effective when accelerating out of corners or in changing driving conditions without creating unnecessary drag on straights. At the same time, the undesirable effects of classic winglets, such as strong pitching movements or wheelies, could be reduced. For motorcyclists, this would potentially result in more stable handling and better controllable power delivery without the need for active intervention. However, whether these advantages are noticeable in practice depends heavily on the implementation and tuning of such a system.
→ This article is part of our comprehensive overview of patents and future technologies – find all developments in our Patents and Future Motorcycle Technology overview.
- Dainese 201D20028 001Dainese Smart Jacket LS Textiljacke Herren schwarz, 50
Redakteur bei Motorrad Nachrichten. Fokus auf Technik, Szene und Motorradpolitik – neutral, sachlich, verständlich.
Verantwortlich für die Seiten www.Motorcycles.News, www.Motorrad.Training und den YouTube-Kanal "Motorrad Nachrichten", sowie deren social Media-Seiten.









