[ss_click_to_tweet tweet=“Honda-Patent: Vorkammer-Zündsystem – auch in der MOTORRAD NACHRICHTEN APP“ content=“Honda-Patent: Vorkammer-Zündsystem – auch in der MOTORRAD NACHRICHTEN APP“ style=“default“]
Honda hat ein Patent für eine Vorkammerzündung bei Motorrädern angemeldet. Diese Technik gibt es bereits schon seit Jahrzehnten, könnte jetzt aber zum ersten Mal in Serien-Motorrädern eingesetzt werden.
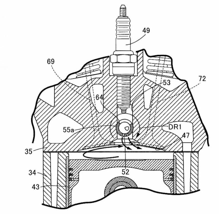
Das System verfügt über eine kleine Kammer vor dem Hauptbrennraum. In dieser Kammer wird durch die Zündkerze das Luft-Kraftstoff-Gemisch gezündet. Eine Reihe kleinerer Öffnungen zwischen den Kammern sorgt dafür, dass die Flammenfront, der sich ausdehnenden Explosion, in kleinere explosive Strahlen aufgeteilt wird. Dadurch kann der Motor ein mageres Gemisch verwenden, das auch weniger schädliche Emissionen erzeugt.
Ein ähnliches System wird auch bei Formel1 Autos verwendet, allerdings ist die im Patent beschriebene Vorkammer in der Lage sich zu drehen. So kann sie zum Zeitpunkt der Verbrennung die Gase durchlassen und beim Verdichtungstakt die abgedichtete Seite nutzen.
Verwendet werden zwei Einspritzdüsen, eine für die Verbrennungskammer und eine separate für die Vorkammer.
Im Grunde wird in der Verbrennungskammer ein sehr mageres Gemisch erzeugt, dass eigentlich nicht in der Lage wäre, um sich selbst zu entzünden. Durch die Flammenfront der Vorkammer reicht es allerdings aus, um ein optimales Luft-Kraftstoff-Verhältnis zu schaffen und den Verbrennungsprozess zu beschleunigen. Dadurch steigert sich die Effizienz.
- reißfest
- wasserdicht
- reißfeste DUPONT KEVLAR FASERN
Letzte Aktualisierung am 8.11.2025 / *Affiliate Links / Bilder von der Amazon Product Advertising API
















Leave a Reply