Mit der RSV4 X-GP hat Aprilia ein weiteres Kapitel in der Geschichte exklusiver Supersportler aufgeschlagen. Das streng limitierte Sondermodell wurde beim Großen Preis von Katalonien erstmals vorgestellt und war weltweit nach nur 14 Tagen ausverkauft. Insgesamt wurden lediglich 30 Exemplare produziert, was das Interesse von Sammlern und Rennsport-Enthusiasten zusätzlich gesteigert haben dürfte. Der Verkaufspreis lag bei 90.000 € (rund 97.500 $) zuzüglich Mehrwertsteuer.
Mit der RSV4 X-GP feiert Aprilia Racing zehn Jahre RS-GP in der MotoGP und präsentiert gleichzeitig die extremste Ausbaustufe der RSV4, die jemals gebaut wurde. Vorgestellt beim Grand Prix von Katalonien, ist die auf 30 Exemplare limitierte Sonderedition ausschließlich für die Rennstrecke vorgesehen und verkörpert das Maximum dessen, was Aprilia aus seinem MotoGP-Know-how für den freien Markt ableitet.
Aprilia wird am kommenden Wochenende beim Großen Preis von Katalonien ein neues, streng limitiertes Sondermodell vorstellen. Das Motorrad, das voraussichtlich unter dem Namen X GP erscheint, orientiert sich technisch und optisch stark an der RS-GP – dem MotoGP-Rennmotorrad der Italiener. Anlass für das neue Modell ist das zehnjährige Jubiläum der RS-GP in der Königsklasse des Motorradrennsports.
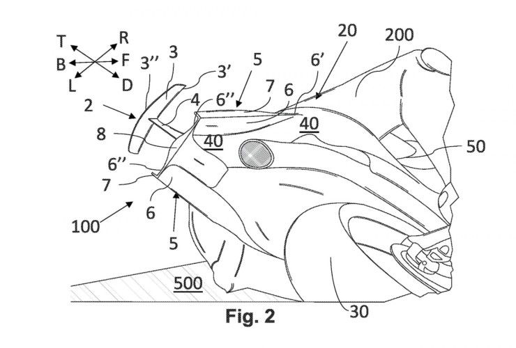
Aprilia hat sich in den vergangenen Jahren zu einem der innovativsten Hersteller im Bereich der MotoGP-Aerodynamik entwickelt. Neue, jetzt veröffentlichte Patentschriften geben erstmals detaillierte Einblicke in bisher nicht eingesetzte Entwicklungen der RS-GP. Die Unterlagen stammen direkt von Marco De Luca, einem ehemaligen Formel-1-Aerodynamiker, der mittlerweile die technische Entwicklungsabteilung bei Aprilia leitet. Im Fokus stehen Konzepte, die den Bodeneffekt und die Kurvenstabilität noch stärker betonen sollen, als es bislang im MotoGP-Zirkus üblich ist.
Piaggio hat beim Amt für geistiges Eigentum der Europäischen Union und dem Vereinigten Königreich einen neuen Markennamen angemeldet: Aprilia X GP. Damit kündigt sich das inzwischen fünfte Modell der limitierten X-Reihe von Aprilia an. Das neue Modell soll in direkter Tradition zu den bisherigen Hochleistungsbikes der italienischen Marke stehen und voraussichtlich auf der Technologie aus dem MotoGP-Projekt basieren.
Mit der RS 125 GP Replica bringt Aprilia im Juni 2025 ein neues Topmodell in die 125er-Klasse, das sich optisch und technisch eng an den MotoGP-Renner RS-GP25 anlehnt. Wie das Werksmotorrad, das in der Saison 2025 von Jorge Martin und Marco Bezzecchi pilotiert wird, präsentiert sich die Replica mit einer detailgetreuen Nachbildung der offiziellen Lackierung und den markanten Sponsoren-Logos des Aprilia Racing Teams.
Aprilia bringt die RS 660 für das Modelljahr 2025 zurück in die Showrooms und präsentiert gleichzeitig eine noch leistungsfähigere Version: die RS 660 Factory. Wie es sich für eine "Factory"-Version gehört, erhält das Mittelklasse-Sportbike aus Noale nicht nur eine optische Auffrischung, sondern auch einige technische Upgrades, die das Fahrerlebnis noch weiter verbessern.
Aprilia scheint eine Neuauflage der RSV1000 vorzubereiten. Anfang 2025 hat Piaggio, der Mutterkonzern der italienischen Marke, die Modellbezeichnung „RSV1000“ erneut schützen lassen – zunächst in den USA. Dieser Markenschutz gilt bis mindestens November 2026 und umfasst sowohl Motorräder als auch Zubehör mit diesem Namen. Während eine offizielle Bestätigung seitens Aprilia noch aussteht, deutet vieles darauf hin, dass die Traditionsmarke an einem neuen V2-Supersportler arbeitet.
Mit der Tuono 457 stellt Aprilia ihr neuestes Modell vor, das speziell für junge Motorradfans entwickelt wurde. Die Maschine kombiniert Leistung, Technologie und das typische Tuono-Design und basiert auf der 457er-Plattform, die bereits mit der RS 457 viele Fans gewonnen hat. Als leichtes, agiles Naked-Bike soll die Tuono 457 nicht nur im Alltag überzeugen, sondern vor allem auch Spaß beim Fahren bieten.
Die Aprilia RSV4 X Ex3ma ist ein neues Rennmotorrad, das auf der Basis von MotoGP-Technologie entwickelt wurde. Aprilia Racing, bekannt für seine Erfolge in der MotoGP, bringt mit diesem Modell das vierte Kapitel der X-Serie auf den Markt. Seit 2019 wurde die X-Serie als Track-only-Motorrad entwickelt, beginnend mit der RSV4 X, gefolgt von der Tuono X und der RSV4 X Trenta im Jahr 2022.
Aprilia enthüllte die RS 660 Trofeo als eine außergewöhnliche Edition, charakterisiert durch ihre begrenzte Verfügbarkeit und Spezialisierung für den Rennstreckeneinsatz. Mit einer Produktion von lediglich 28 Stück, verkörpert dieses Motorrad die Synthese aus Aprilias umfangreicher Rennsportkompetenz und dem Bedürfnis nach maßgeschneiderten, rennorientierten Motorrädern.
Aprilias jüngstes Patent enthüllt die Verschmelzung von MotoGP-Innovationen und Straßenmotorradtechnologie, ein Schritt, der die Zukunft der Motorraddesigns und -leistung möglicherweise ändern könnte.
Die Motorsportwelt steht vor einer bemerkenswerten Wendung: Trackhouse Racing, ein Name, der bereits in der NASCAR Cup Serie für Furore sorgte, kündigt seinen Eintritt in die MotoGP für das Jahr 2024 an. Als unabhängiges Team, aber mit starker Partnerschaft mit Aprilia, tritt Trackhouse an, um die MotoGP-Landschaft mit einem frischen, amerikanischen Geist zu bereichern.
Die Aprilia Tuareg präsentiert sich 2024 mit neuen Farboptionen, die Landschaften und rennsportliche Erfolge reflektieren, ergänzt durch technische Optimierungen für verbesserte Offroad-Fähigkeiten.
Die Aprilia RS 457 zielt darauf ab, eine neue Generation von Motorradfahrern mit einer Mischung aus sportlicher Tradition und modernster Technologie zu erreichen. Mit einem leistungsstarken Zweizylindermotor und fortschrittlichen Sicherheitsfeatures setzt das Modell neue Standards im mittleren Sportsegment.
Die Aprilia RS 440, ein Mysterium auf zwei Rädern, scheint vor ihrer offiziellen Enthüllung schon zahlreiche Geheimnisse preiszugeben: von aerodynamischen Differenzen zu ihrer größeren Schwester, der RS 660, bis hin zur neue Motorenreihe. Bis zum vermutlichen Debüt am 7. September gibt es hier schon die ersten Einblicke.
Es scheint, als ob Aprilia innovative Wege beschreitet und mit einem Carbonfaser-Rahmen für ihre MotoGP-Maschine experimentiert. Dies lässt sich zumindest aus kürzlich auf Social Media geteilten Bildern schließen.
Aprilia plant, ihre MotoGP-Innovationen in die 2024er Modelle der RSV4 und Tuono V4 1100 zu integrieren, was durch kürzlich aufgetauchte Erlkönigbilder angedeutet wird. Die neuen Modelle könnten signifikante Änderungen in der Front-Aerodynamik bekommen.
Aprilia präsentiert limitierte Sondereditionen der RSV4 Factory und Tuono V4 Factory, die mit beeindruckender Optik, leistungsstarken Motoren und modernster Technologie punkten. Die Modelle werden ab Mai 2023 in den USA und ab Juni 2023 in Kanada erhältlich sein, eine Veröffentlichung in Europa ist bisher noch ungewiss.
Aprilia arbeitet an einer Innovation für aerodynamische Rennkombis, die den Luftwiderstand verringern und den Fahrkomfort erhöhen soll. Das Design umfasst zehn externe Paneele, die am Fahrer befestigt werden und den Luftstrom optimieren. Wenn sich dieses Konzept bewährt, könnten Rennkombis in der MotoGP eine neue Ära der Aerodynamik einläuten.



























