- Loncin/Voge files patent for single-sided swingarm with integrated cooling duct
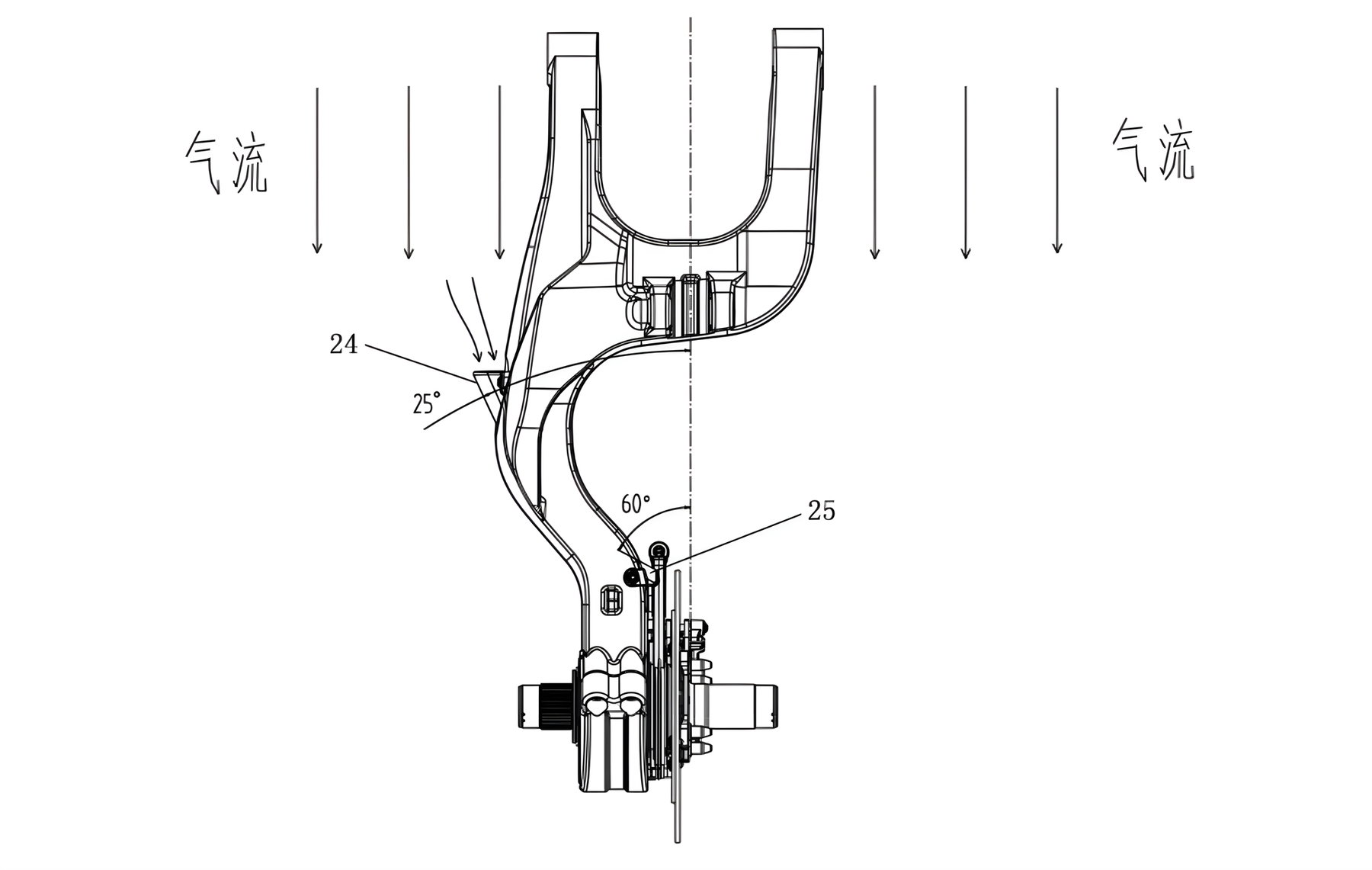
- Air channel directs ram air onto brake disc and brake caliper
- Based on the Voge RR500S with 475 cc inline-four and 57 kW (76 hp)
Single-sided swingarms have been a visual hallmark of premium motorcycles for decades. Honda introduced them in the 1980s on the VFR series, Ducati made them a trademark starting in 1994 with the legendary 916, and Triumph, BMW and Kawasaki also use the design on select models. The main reason is aesthetics: viewed from the right side, the rear wheel appears to float freely, lending many motorcycles a distinctive visual elegance. From a purely technical standpoint, however, a single-sided swingarm is heavier and less rigid than a conventional double-sided swingarm. Ducati switched back to a double-sided swingarm on the current Panigale V4 for precisely these reasons.
In the growing segment of Chinese sport motorcycles, however, the single-sided swingarm is currently experiencing a resurgence. Manufacturers are increasingly using it as a distinguishing feature for their flagship models. Loncin’s brand Voge is apparently planning to follow this trend and bring a higher-spec version of the recently unveiled RR500S with a single-sided swingarm to market. A new patent reveals, however, that Voge is not simply planning a cosmetic upgrade but aims to address a specific technical problem.

The Problem: Rear Brake Without Airflow
With a conventional double-sided swingarm, the rear brake is relatively freely accessible. Air can flow past the brake disc and brake caliper from both sides, carrying away the heat generated during braking. With a single-sided swingarm, the situation is different. The brake is wedged between the wheel hub and the wheel itself, on the inside of the swingarm. Airflow is severely restricted as a result, which can lead to higher brake temperatures and, in extreme cases, reduced braking performance.
This problem has been known since the introduction of the modern single-sided swingarm in the 1980s but has never been specifically addressed by any manufacturer. In normal road use, the effect is usually not dramatic since the rear brake is less stressed than the front brake anyway. During spirited riding, on the track, or on long downhill stretches, however, the limited cooling can become quite relevant.
Voge’s Solution: Ram Air Through the Hollow Swingarm
The patent filed by Loncin/Voge describes an air duct that runs directly through the hollow single-sided swingarm. The design captures ram air on the left side of the vehicle and channels it through the interior of the swingarm to two outlets on the brake side. One outlet is directed at the surface of the rear brake disc, while the second aims downward at the brake caliper. This way, both heat-sensitive components of the rear brake are supplied with targeted cooling air.
The approach is elegant in that it utilizes the already hollow structure of the swingarm and therefore adds virtually no additional weight or production cost. No special add-on parts or a separate cooling system are required — the air ducting is integrated directly into the swingarm.

The Voge RR500S as the Foundation
The basis for the planned single-sided swingarm model is the Voge RR500S, which was unveiled in China in 2024 and made its international debut at EICMA in November of the same year. The motorcycle is powered by a 475 cc inline-four producing 57 kW (76 hp) and revving to 14,000 rpm. In the segment of small, high-revving four-cylinder machines, the RR500S competes with models such as the Kawasaki Ninja ZX-4R and the CFMoto 500SR.
The RR500S is not Voge’s largest sport motorcycle — that role belongs to the RR660S. The 500 is, however, the more radical model, aimed at China’s booming market for compact, high-revving four-cylinder sportbikes. Its appearance at EICMA suggests that the RR500S is also intended for international markets. The patent for the single-sided swingarm with brake cooling points to a higher-spec variant positioned above the standard version.
Background: Loncin and the Connection to BMW
Behind the Voge brand stands the Chinese conglomerate Loncin, which has been producing engines and complete vehicles for BMW for roughly two decades. This partnership has given the company extensive experience in engine development and quality assurance. This is evident in the Voge flagship DS900X, which uses the same engine as the BMW F 900 models. In Europe, Asia, and Latin America, Voge already has an established dealer network. In the United States, the brand is not yet available.

Single-Sided Swingarm: Trend or Dying Breed?
The development at Voge stands in interesting contrast to the trend among European manufacturers. While Ducati has abandoned the single-sided swingarm on the Panigale V4 in favor of a lighter and purposefully more flexible double-sided swingarm, Chinese manufacturers are increasingly embracing the design element to visually elevate their flagship models and set themselves apart from the competition.
Whether the brake cooling described in the patent proves as effective in practice as hoped remains to be seen. Patents do not necessarily lead to production models. The fact that Loncin/Voge is tackling a concrete technical disadvantage of the single-sided swingarm and has developed a patentable solution, however, shows that the Chinese motorcycle industry is increasingly setting its own engineering accents rather than simply adopting existing concepts.

Häufige Fragen
-
What is the problem with single-sided swingarms and the rear brake?
With a single-sided swingarm, the rear brake is wedged between the wheel hub and the wheel. Airflow to the brake disc and brake caliper is severely restricted, which can lead to higher temperatures and potentially reduced braking performance. This problem has existed since the introduction of the modern single-sided swingarm in the 1980s.
-
How does the Voge patent solve the cooling problem of the single-sided swingarm?
The patent describes an air duct that channels ram air from the left side of the vehicle through the hollow swingarm to two outlets. One outlet is directed at the brake disc, the other at the brake caliper. Since the swingarm is hollow anyway, the solution is said to add virtually no extra weight or cost.
-
How much horsepower does the Voge RR500S have?
The Voge RR500S is powered by a 475 cc inline-four producing 57 kW (76 hp). The engine revs to 14,000 rpm, positioning the motorcycle in the segment of small, high-revving four-cylinder sportbikes.
-
When will the Voge RR500S with single-sided swingarm be released?
A specific launch date for the version with a single-sided swingarm and integrated brake cooling has not been announced. The patent suggests a higher-spec variant positioned above the standard RR500S. Whether and when the concept will enter production remains to be seen.
➜ This article is part of our comprehensive overview: Motorcycle Patents and Future Technology: What Manufacturers Are Developing. Find all key information on this topic in one place.

- INSTA360 CINSBBGA-ACE2PRO-DUALINSTA360 Ace 2 Pro Dual Battery Bundle








