Close Menu
Motorcycles.News – Motorrad Magazin
  • Home
    • All NEWS
  • Kategorien
    • Alle Artikel
    • News
    • Neue Motorräder
    • Vorstellungen
    • Motorsport
    • MotoGP
    • Rechtliches
    • von der Straße
    • Zubehör
    • Technik
    • Treffen / Events
  • Seiten
    • Über uns
    • Amazon-Shop
    • Motorrad Nachrichten auf YouTube
    • Impressum / Disclaimer / Datenschutz
  • Schwerpunkte
    • Neue Motorräder 2026: Alle Modelle, Neuheiten und Highlights im Überblick
    • MotoGP-Saison 2026: Der komplette Überblick – Teams, Fahrer, Kalender & WM-Stand
    • Isle of Man TT 2026: Der komplette Überblick – Zeitplan, Fahrer, Teams & Ergebnisse
    • Patente und zukünftige Motorradtechnik: Was die Hersteller im Labor haben
    • Motorradrecht & Politik: Gesetze, Urteile und Entwicklungen für Motorradfahrer
    • Streckensperrungen und Sanktionen gegen Motorradfahrer: Der komplette Überblick
    • Streckensperrungen Karte
  • Events
    • Ausfahrt
    • Event
    • Messe
    • Spendenfahrt
    • Treffen
    • MotoGP
    • WSBK
    • Road Racing
    • Langstreckenrennen
    • Motorsport
  • Deutsch
  • English
Facebook X (Twitter) Instagram
Motorcycles.News – Motorrad Magazin
  • Home
    • All NEWS
  • Kategorien
    • Alle Artikel
    • News
    • Neue Motorräder
    • Vorstellungen
    • Motorsport
    • MotoGP
    • Rechtliches
    • von der Straße
    • Zubehör
    • Technik
    • Treffen / Events
  • Seiten
    • Über uns
    • Amazon-Shop
    • Motorrad Nachrichten auf YouTube
    • Impressum / Disclaimer / Datenschutz
  • Schwerpunkte
    • Neue Motorräder 2026: Alle Modelle, Neuheiten und Highlights im Überblick
    • MotoGP-Saison 2026: Der komplette Überblick – Teams, Fahrer, Kalender & WM-Stand
    • Isle of Man TT 2026: Der komplette Überblick – Zeitplan, Fahrer, Teams & Ergebnisse
    • Patente und zukünftige Motorradtechnik: Was die Hersteller im Labor haben
    • Motorradrecht & Politik: Gesetze, Urteile und Entwicklungen für Motorradfahrer
    • Streckensperrungen und Sanktionen gegen Motorradfahrer: Der komplette Überblick
    • Streckensperrungen Karte
  • Events
    • Ausfahrt
    • Event
    • Messe
    • Spendenfahrt
    • Treffen
    • MotoGP
    • WSBK
    • Road Racing
    • Langstreckenrennen
    • Motorsport
  • Deutsch
  • English
YouTube Facebook Instagram TikTok
Motorcycles.News – Motorrad Magazin
Startseite » Bekommt die neue Fireblade ausfahrbare Winglets?
cropped 2020 Honda CBR1000RR Fireblade active aerodynamics patent Motorcycle News App Motorrad Nachrichten App MotorcyclesNews 1
Neue Motorräder

Bekommt die neue Fireblade ausfahrbare Winglets?

By Andreas Denner8 September, 2019
Share
WhatsApp Facebook Twitter Threads Email
Bekommt die neue Fireblade ausfahrbare Winglets?

Mittlerweile wurde ganz offiziell bestätigt, dass es für nächstes Jahr eine neue Honda Fireblade geben wird. Da Honda jetzt wieder als Werksteam in der World Superbike antritt und die aktuelle Fireblade von den reinen Leistungsdaten nicht mit der Konkurrenz mithalten kann, brauchen sie eine neue Basis. Teile einer neuen Fireblade waren sogar schon beim Langsreckenrennen 8 Hours Suzuka im Einsatz.

Update: Honda CBR1000RR-R vorgestellt – alle Daten

Bekommt die neue Fireblade ausfahrbare Winglets?

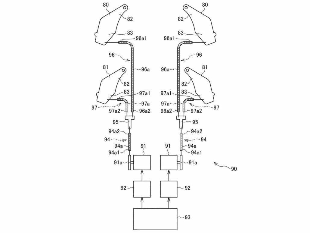
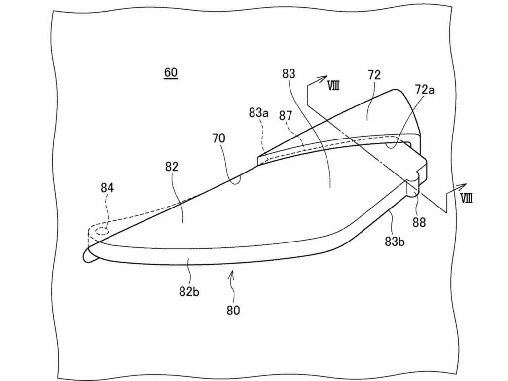
Jetzt sind Patentzeichnungen aufgetaucht, die zeigen, wie man Winglets weiterentwickeln möchte. Sie sollen sich selbstständig aus- und einfahren können, um sich den entsprechenden Fahrsituationen anzupassen. Das würde es ermöglichen, dass man Wheelies beim Beschleunigen besser vermeiden könnte, ohne auf ein gutes Handling in Kurven verzichten zu müssen. Man könnte die Vorteile nutzen, ohne mit den Nachteilen leben zu müssen.

Die Regelung der WSBK besagen nichts darüber, ob Winglets starr oder verstellbar sein dürfen. Die Aerodynamik muss nur auf der des Serienmotorrads basieren. Bei den Patentzeichnungen handelt es sich auch um eine straßenzugelassene Version der Fireblade, was man am Nummernschildträger, Spiegel und Blinker erkennen kann.

Außerdem zeigen die Zeichnungen einen Reihenvierzylindermotor. Die Gerüchte von einem V4 Motor dürften sich damit erledigt haben. Wenn man der Patentzeichnung glauben darf, dann wird sich die Front auch radikal ändern. Der Scheinwerfer wird zentral in der Lufteinlassöffnung integriert.

Voraussichtlich auf der EICMA im November werden wir dann wohl mehr erfahren.

[amazon box=“B07N22JPHL“]  

2020 Honda CBR1000RR Fireblade active aerodynamics patent Motorcycle News App Motorrad Nachrichten App MotorcyclesNews 1
2020 Honda CBR1000RR Fireblade active aerodynamics patent Motorcycle News App Motorrad Nachrichten App MotorcyclesNews 3
2020 Honda CBR1000RR Fireblade active aerodynamics patent Motorcycle News App Motorrad Nachrichten App MotorcyclesNews 6
2020 Honda CBR1000RR Fireblade active aerodynamics patent Motorcycle News App Motorrad Nachrichten App MotorcyclesNews 4
2020 Honda CBR1000RR Fireblade active aerodynamics patent Motorcycle News App Motorrad Nachrichten App MotorcyclesNews 5

Avatar-Foto
Andreas Denner
  • Website
  • Facebook
  • Instagram

Redakteur bei Motorrad Nachrichten. Fokus auf Technik, Szene und Motorradpolitik – neutral, sachlich, verständlich. Verantwortlich für die Seiten www.Motorcycles.News, www.Motorrad.Training und den YouTube-Kanal "Motorrad Nachrichten", sowie deren social Media-Seiten.

Related Posts

Honda CR Electric Proto Patentzeichnung – Seitenansicht des kompletten Elektro-Motocross-Motorrads mit nummerierter Komponentenübersicht: Elektromotor, Batteriepaket, Aluminium-Brückenrahmen, USD-Gabel und Einarmschwinge

Honda bringt die Kupplung zurück aufs Elektro-Motorrad

8 Mai, 2026
Honda Patent Bremssystem 1 1

Patente und zukünftige Motorradtechnik: Was die Hersteller im Labor haben

15 März, 2026
Honda Motorrad Ausweichsystem 4 1

Honda patentiert automatisches Ausweichsystem für Motorräder und sorgt für Diskussionen

25 Dezember, 2025
Honda V4 Motor Patent 1

Honda patentiert neuen V4 Motor: Hinweise auf Comeback einer VFR

17 Dezember, 2025
Honda Electro Fireblade 1

Honda arbeitet am elektrischen Superbike: Neue Patentzeichnungen zeigen Fireblade im E-Format

15 Juli, 2025
E Clutch Hornet 1

Honda CB1000R mit E-Clutch: Patente deuten auf neue Getriebetechnik – folgt die CB1000 Hornet?

7 Juli, 2025

Bevorstehende Veranstaltungen

Mai 15
Mai 15 @ 09:00 - Mai 17 @ 16:00

MotoGP – Barcelona Catalunya Grand Prix – 2026

Mai 15
Mai 15 @ 09:00 - Mai 17 @ 17:30

WorldSBK – Tschechien (Most) – 2026

Mai 17
Hervorgehoben Ganztägig

Distinguished Gentleman`s Ride – 2026

Mai 23
10:00 - 18:00

Fellows Ride Magdeburg – 2026

Mai 23
Hervorgehoben Mai 23 @ 10:00 - Mai 24 @ 18:00

Fuck Cancer Charity Ride – 2026

Mai 25
Mai 25 - Juni 7

Isle of Man TT

Mai 29
Mai 29 @ 09:00 - Mai 31 @ 15:00

MotoGP – Italien Grand Prix – 2026

Kalender anzeigen
Beliebteste Artikel
Marc Marquez auf der Ducati Desmosedici GP26 in Schräglage – MotoGP Frankreich GP Le Mans 2026 MotoGP

Marc Márquez stürzt in Le Mans schwer: Fußbruch, Schulter-OP und das Ende der Titelverteidigung

BMW-Motorrad-Chef Markus Flasch posiert mit sechs mattschwarzen BMW R20 Testexemplaren auf dem BMW-Werksgelände in München

BMW R20: Sechs Testexemplare zeigen den Big-Boxer-Roadster kurz vor der Serie

10 Mai, 2026
Honda NW200 2019 MotorcyclesNews Motorrad Nachrichten App 6

North West 200 2026: Tödlicher Unfall überschattet Qualifying am Donnerstag

8 Mai, 2026
North West 200 – 2026 Briggs Equipment North West 200 Road Racing

North West 200 2026: Zeitplan, Fahrer und Rennen

7 Mai, 2026
Harley Davidson Iron 883 Motorcycle News App Motorrad Nachrichten App MotorcyclesNews 14

Harley-Davidson setzt alles auf eine Karte: Warum „Back to the Bricks“ mehr als nur ein neuer Slogan ist

7 Mai, 2026
YouTube Facebook Instagram TikTok
  • Impressum / Disclaimer / Datenschutz
© 2026 MotorradMedien

Type above and press Enter to search. Press Esc to cancel.