Der Trend: Radar für Touring-Motorräder
Radarbasierte Technologien haben in den letzten Jahren Einzug in das Touring-Segment gehalten. Hersteller wie BMW, Ducati, KTM, Kawasaki und Yamaha setzen hierbei auf vorgefertigte Systeme, vor allem von Bosch. Diese ermöglichen Funktionen wie adaptiven Tempomat mit Stop-and-Go-Assistenz, wie sie beispielsweise in der KTM 1390 Super Adventure S Evo zum Einsatz kommen. Auch andere Marken wie Moto Guzzi und Triumph haben mit Technologien von Piaggio Fast Forward oder Continental ihre eigenen Lösungen implementiert.
Hondas eigener Weg
Im Gegensatz zu vielen Mitbewerbern bevorzugt Honda eine Eigenentwicklung ihrer Technologien, anstatt auf fertige Systeme von Zulieferern zu setzen. Dieser Ansatz erlaubt tiefere Integration und möglicherweise einzigartige Funktionen, bringt jedoch höhere Entwicklungskosten und längere Entwicklungszeiten mit sich. Die Gold Wing, seit Jahrzehnten ein Synonym für Touring-Motorräder, soll die erste Plattform für diese neuen Technologien werden.
Mehr als nur Radar: Der Mix aus Lidar, Kamera und Radar
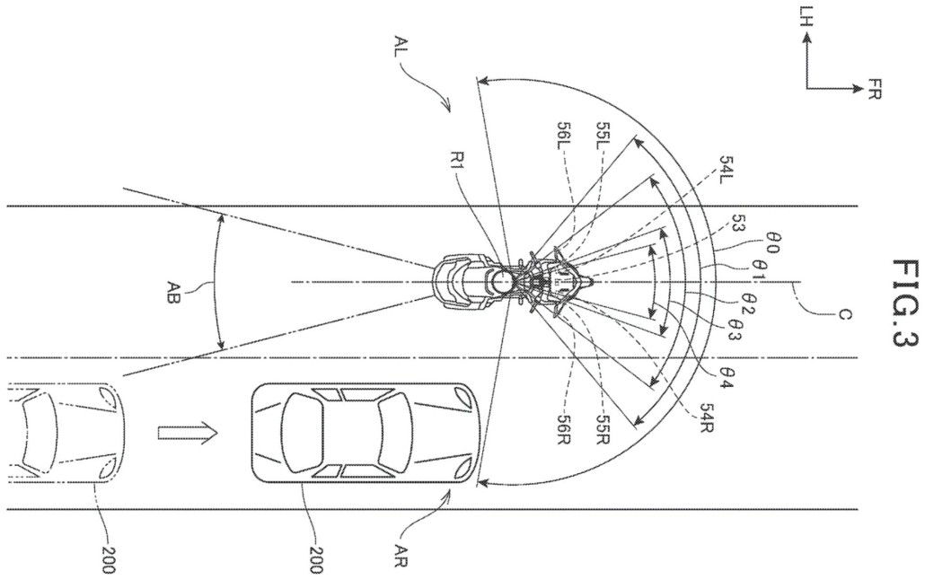
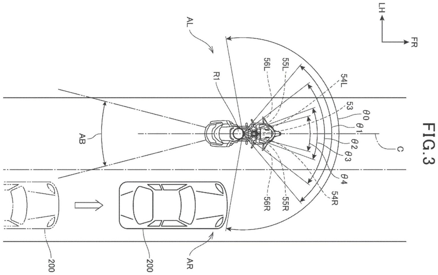
Die Patentanmeldungen zeigen, dass Honda nicht nur auf Radar setzt, sondern dieses mit Lidar (laserbasiertes Light Detection and Ranging) und Kameras kombiniert. Jede dieser Technologien hat spezifische Stärken:
- Radar funktioniert unabhängig von Lichtverhältnissen und kann Hindernisse bei Dunkelheit oder Nebel erkennen, hat jedoch eine geringere Auflösung.
- Lidar liefert präzise dreidimensionale Bilder, stößt jedoch bei größeren Entfernungen und schwierigen Wetterbedingungen an seine Grenzen.
- Kameras sind ideal für das Erkennen von Farben, Lichtquellen oder Verkehrszeichen, benötigen jedoch ausreichend Licht.
Durch die Kombination dieser Systeme kann eine zuverlässige und detaillierte Darstellung der Umgebung des Motorrads geschaffen werden. Diese Integration minimiert die Schwächen einzelner Technologien und steigert die Genauigkeit.
Fokus auf die Sicherheit: Blind-Spot-Warnsystem
Ein zentrales Element der neuen Technik ist das Überwachungssystem für den toten Winkel. Hondas Patent beschreibt ein System, das je nach Geschwindigkeit unterschiedliche Warnleuchten einsetzt. Bei niedrigen Geschwindigkeiten warnen Leuchten in den Außenspiegeln vor Fahrzeugen im toten Winkel. Mit steigender Geschwindigkeit verlagert sich die Warnung auf die Spiegelhalterungen und schließlich auf das Armaturenbrett, um das eingeschränktere Sichtfeld des Fahrers zu kompensieren.
Mögliche Fahrerassistenzsysteme
Die Kombination der Sensoren eröffnet zahlreiche Einsatzmöglichkeiten, darunter:
- Adaptiver Tempomat
- Automatische Notbremsung
- Spurhalteassistent
- Halbautonome Fahrfunktionen
Diese Technologien, insbesondere Lidar, sind aktuell noch teuer. Daher erscheint es wahrscheinlich, dass die Gold Wing als erstes Modell mit diesen Assistenzsystemen ausgestattet wird.
Ausblick
Während viele dieser Funktionen in Autos bereits verbreitet sind, könnte die Entwicklung auch für Motorräder schnell voranschreiten. Hondas Ansatz, innovative Technik selbst zu entwickeln, könnte der Gold Wing zukünftig eine Vorreiterrolle in puncto Fahrerassistenzsysteme verschaffen. Ob und wann diese Technologien auf breiter Basis verfügbar sein werden, bleibt jedoch abzuwarten.
[amazon bestseller=“Motorrad Airbagweste“ items=“2″]



Redakteur bei Motorrad Nachrichten. Fokus auf Technik, Szene und Motorradpolitik – neutral, sachlich, verständlich.
Verantwortlich für die Seiten www.Motorcycles.News, www.Motorrad.Training und den YouTube-Kanal "Motorrad Nachrichten", sowie deren social Media-Seiten.









