[ss_click_to_tweet tweet=“BMW Patent zeigt Carbon-Rahmen mit integrierter Schwinge – auch in der MOTORRAD NACHRICHTEN APP“ content=“BMW Patent zeigt Carbon-Rahmen mit integrierter Schwinge – auch in der MOTORRAD NACHRICHTEN APP“ style=“default“]
Dass BMW ein Vorreiter ist, wenn es um Carbon-Chassis geht, haben sie bereits mit der HP4 Race bewiesen. Jetzt möchten sie den Carbonrahmen auf ein nächstes Level bringen wie Patentanmeldungen zeigen.
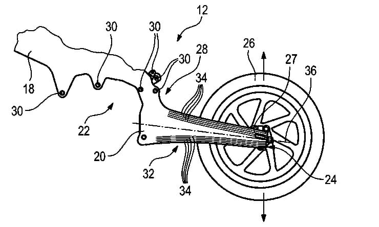
BMW möchte einen Rahmen entwickeln, der auf die Verwendung einer mechanisch verbundenen Schwinge verzichtet. Die Schwinge soll ein Bestandteil des Rahmens werden. Anders ausgedrückt, Rahmen und Schwinge sind ein Teil und keine miteinander verbundenen Teile.
Dies wirft sofort die Frage auf, wie das funktionieren sollte und ob man auf eine Dämpfung verzichten möchte, oder wie die Dämpfung dann funktionieren sollte…
Eine Dämpfung wird es weiterhin geben, allerdings nutzt man die speziellen Eigenschaften von Kohlefaser. Sie kann so konstruiert werden, dass sie in einer Richtung starr, in eine andere Richtung allerdings flexibel ist. Das würde bedeuten, dass sich die vermeintlich „feste Schwinge“ selbst verbiegt bzw. dämpft, in seitlicher Richtung aber steif bleibt.
Ein Dämpfer würde trotzdem verwendet werden, um die Steifigkeit bzw. Dämpfung der Schwinge zu kontrollieren und einstellen zu können. Durch diese Konstruktion könnte man allerdings auf Drehpunkte und Querlenker verzichten.
Bei Rennautos wird eine entsprechende Technik schon länger verwendet, um Gewicht zu reduzieren und um auch die Aerodynamik zu verbessern. Es handelt sich also nicht um eine utopische Technik, sondern um bereits erprobte Möglichkeiten, die jetzt allerdings neu auf das Motorrad adaptiert werden sollen.
Wie bei allen Patenten muss man allerdings abwarten ob sie auch wirklich umgesetzt werden. Sollte diese Technik in einem Serienmotorrad verbaut werden, dann wäre es in einem Nachfolger der HP4 Race am Wahrscheinlichsten.
[amazon box=“B089NY7WWY“]

→ Dieser Artikel ist Teil unserer umfassenden Übersicht zu Patenten und Zukunftstechnologien – alle Entwicklungen findest du in unserem Überblicksartikel zu Patenten und zukünftiger Motorradtechnik.








