- Neues Schraubenprofil in Form des BMW Logos wurde patentiert
- Spezialwerkzeug notwendig, um die Schrauben zu lösen oder anzuziehen
- Einsatz vermutlich nur bei Bauteilen mit geringem Anzugsmoment
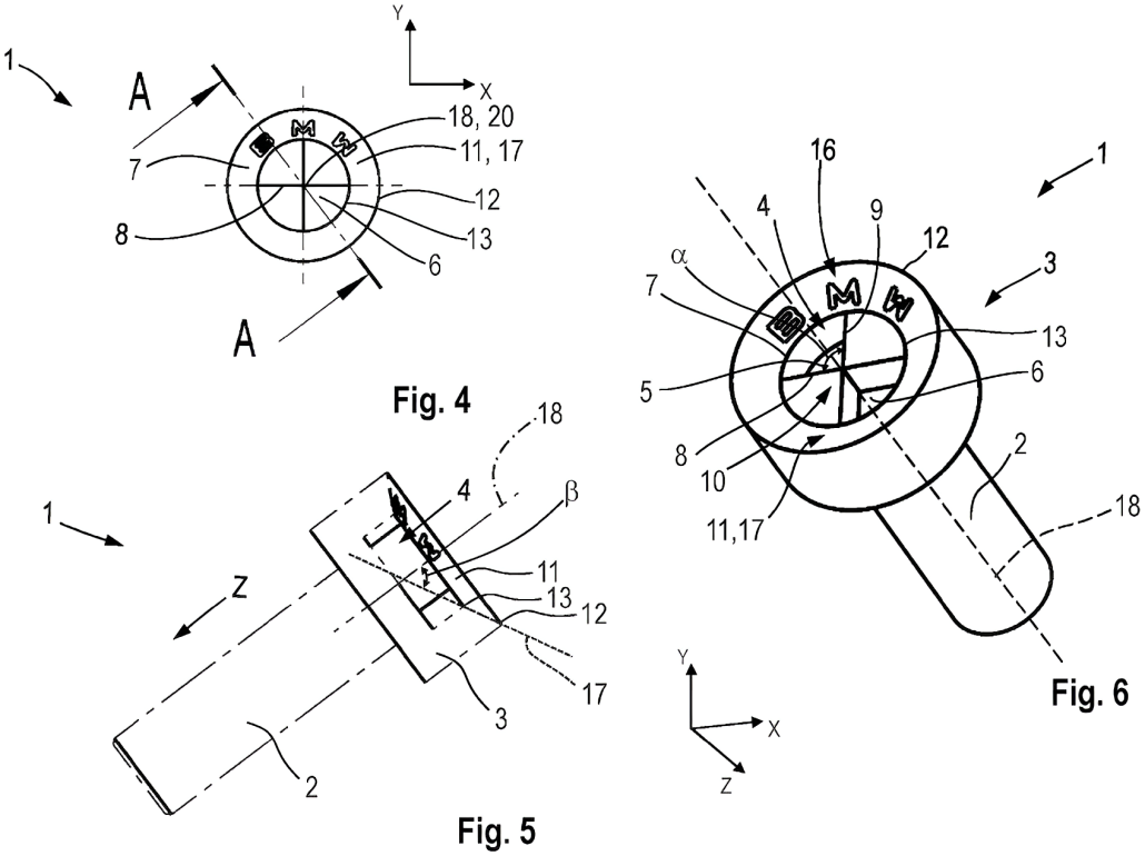
Nach Jahren, in denen sich BMW Schrauben mit geprägtem Markennamen zwar optisch abhoben, technisch aber auf bewährte Profile wie Torx oder Innensechskant setzten, könnte nun ein deutlich größerer Schritt folgen. Ein kürzlich veröffentlichtes Patent zeigt eine Schraube, deren Mitnahmeprofil nicht mehr aus einem klassischen Werkzeugstandard besteht, sondern aus dem BMW Logo selbst.

Schraubenprofil in Form des BMW Logos
Das neue Konzept von BMW nutzt das sogenannte Roundel als funktionales Element. Im Schraubenkopf befinden sich zwei ausgeformte Segmente, die an die blauen Flächen des Markenlogos erinnern. Diese Aussparungen dienen als Kraftangriffspunkt für ein passendes Werkzeug.
Laut Patentschrift soll dieses Profil bewusst so gestaltet sein, dass nur eine eingeschränkte Personengruppe die Schraubverbindung lösen oder herstellen kann. Das deutet klar in Richtung einer Sicherheits oder Zugangsbeschränkung hin, wie sie bereits von speziellen Diebstahlschrauben bekannt ist.
Spezialwerkzeug statt Standard Torx
Um die neue Schraube zu bedienen, ist ein exakt passendes Gegenprofil erforderlich. Dieses Werkzeug dürfte aus zwei kreisförmigen Segmenten bestehen, die wie Kuchenstücke in die Vertiefungen greifen. BMW denkt dabei nicht nur an klassische Zylinderkopfschrauben, sondern auch an Varianten mit Linsen oder Senkkopf. Gerade bei Senkköpfen würde die Werkzeuggeometrie deutlich komplexer ausfallen.
Im Vergleich zu etablierten Profilen wie Torx oder Inbus stellt sich allerdings die Frage nach der technischen Sinnhaftigkeit. Diese Profile wurden ursprünglich entwickelt, um hohe Drehmomente bei kleinen Schraubenköpfen zuverlässig übertragen zu können. Beim BMW Logo Profil wirken die Kontaktflächen vergleichsweise klein und glatt. Hohe Anzugsmomente lassen sich damit vermutlich nur eingeschränkt realisieren.

Einsatz wohl nur bei leichten Bauteilen
Entsprechend ist davon auszugehen, dass BMW diese Schrauben nicht an sicherheitsrelevanten oder hoch belasteten Komponenten einsetzen würde. Wahrscheinlicher ist ein Einsatz an Verkleidungsteilen oder Abdeckungen im sichtbaren Bereich, bei denen es weniger um Kraftübertragung als um Design und Zugangskontrolle geht.
In diesem Zusammenhang erscheint das neue Profil weniger als technische Notwendigkeit, sondern eher als gestalterisches Statement mit Zusatzfunktion. Ob diese Zusatzfunktion für Motorradfahrer einen echten Mehrwert bietet, bleibt fraglich.
Mehr Markenbindung oder mehr Werkstattbindung
Für viele Heimschrauber gehört das Arbeiten am eigenen Motorrad zum Fahrerlebnis dazu. Die Aussicht, für wenige Schrauben ein spezielles Werkzeug anschaffen zu müssen, dürfte diese Gruppe eher abschrecken als begeistern. Zwar ist davon auszugehen, dass entsprechende Werkzeuge irgendwann auch im Zubehörhandel auftauchen würden, doch Qualität und Passgenauigkeit könnten variieren.
Kritische Stimmen sehen in dem Patent daher auch einen möglichen Schritt hin zu stärkerer Bindung an Vertragswerkstätten. Erst bei tiefergehenden Wartungsarbeiten könnten solche Schrauben tatsächlich eine Zugangsbeschränkung darstellen und damit indirekt höhere Werkstattumsätze begünstigen.
Aktuell noch reine Theorie
Wichtig ist jedoch: Bei den BMW Logo Schrauben handelt es sich bislang ausschließlich um ein Patent. In Serienfahrzeugen oder Motorrädern sind sie derzeit nicht verbaut. Ob und in welchem Umfang BMW diese Idee tatsächlich umsetzt, ist offen.

→ Dieser Artikel ist Teil unserer umfassenden Übersicht zu Patenten und Zukunftstechnologien – alle Entwicklungen findest du in unserem Überblicksartikel zu Patenten und zukünftiger Motorradtechnik.

- Held eVest Airbag Weste schwarz 3XL – Motorradbekleidung – Protektoren & Sicherheit








