[ss_click_to_tweet tweet=“Kawasaki Patent eines Hybridmotorrads – auch in der MOTORRAD NACHRICHTEN APP“ content=“Kawasaki Patent eines Hybridmotorrads – auch in der MOTORRAD NACHRICHTEN APP“ style=“default“]
Immer mehr Hersteller arbeiten an Elektromotorrädern und auch Kawasaki arbeitet bereits seit Jahren an der Edeavor. Die Kombination eines Verbrenner- und Elektromotors soll bei Kawasaki aber einen höheren Stellenwert besitzen.
Kommt ein Kawasaki Hybrid statt einem reinen Elektromotorrad?
Kawasaki hat in den letzten Jahren eine Vielzahl von Patenten für Hybridmotorräder angemeldet, die in der Lage sind die Leistung und Wirtschaftlichkeit des Motorrads zu steigern, gleichzeitig aber auch die Emissionen zu reduzieren. Bisher wurde allerdings noch kein Prototyp vorgestellt und auch eine offizielle Ankündigung gab es bisher noch nicht. Gearbeitet wird hier nur hinter verschlossenen Türen und nur durch Patentanmeldungen kann man am Rande von diesen Arbeiten erfahren.
Steuerungselemente im Fokus
Im Gegensatz zur massiven Batterie der Endeavor könnte man bei einer Hybridversion einen viel kleineren Akku verbauen, wodurch man Platz für Benzin-Motor und einen Tank schaffen würde.
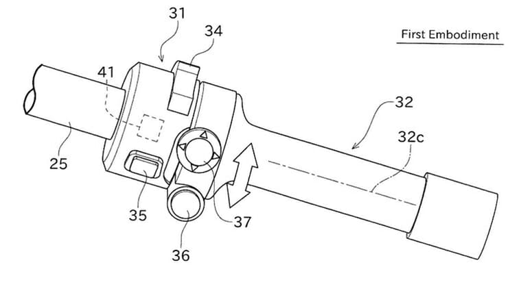
In dem neuen Patent geht es allerdings in erster Linie um die mögliche Bedienung eines Hybridantriebs. Die Drosselklappe wurde speziell dafür ausgelegt, damit der Fahrer das Verhalten von Benzinmotor und Elektroantrieb gezielt steuern kann.
Die Beschleunigung steuert man ganz traditionell über einen Drehgriff, der allerdings mit zusätzlichen Bedienelementen ausgestattet wurde. Über einen Schalter, der für vier Positionen ausgelegt ist, kann man verschiedene Fahrmodi ansteuern, die sich auf Ansprechverhalten und Verbrauch auswirken.
Per Boost-Knopf wird die Drehmomentausgangscharakteristik geändert, um die Leistung vorübergehend zu erhöhen. Die Knöpfe sind dabei mit dem Drehgriff kombiniert, so dass sie sich mitdrehen können. Dies ermöglicht es den Daumen auf dem Boost-Knopf zu lassen um ihn jederzeit aktivieren zu können.
Ob es das Patent in die Serienfertigung schaffen wird bleibt abzuwarten.
[amazon box=“B08G2HBBB6″]











