- Patente beschreiben mehrere Abgaswege mit Ventilsteuerung
- Strömungsrichtung soll Wheelies reduzieren oder Kurvenstabilität erhöhen
- Kombiniertes System mit mehreren Auslässen in Planung
Ein neu eingereichter Patentantrag aus Japan gewährt Einblicke in Yamahas Überlegungen, Abgasströmungen als zusätzliches Regelwerk zur Fahrdynamik einzusetzen. Dabei wird Abgasdruck nicht nur als Nebenprodukt des Motors betrachtet, sondern als potenzielles Werkzeug, um das Motorrad je nach Fahrsituation zu stabilisieren oder zu unterstützen.

Wie Abgaslenkung das Fahrverhalten beeinflussen soll
Anti-Wheelie-System
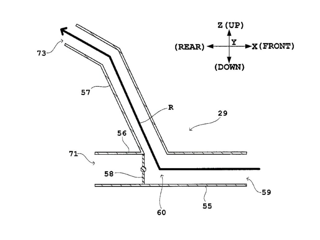
Einer der Patente beschreibt ein Abgassystem mit zwei Endrohren, das über Klappen gesteuert wird. Der erste Auslass ist groß dimensioniert und möglichst frei durchströmt, um den Motor nicht zu drosseln. Der zweite Auslass sitzt höher, ist enger und nach oben angewinkelt.
Durch die kleinere Rohrquerschnittsfläche erhöht sich der Abgasstrahl und erzeugt zusätzlichen Druck nach hinten und oben. Dieser gerichtete Schub soll das Vorderrad stärker auf den Asphalt drücken, was Wheelies abschwächen und die Beschleunigung am Kurvenausgang verbessern soll.
Sobald die Geschwindigkeit steigt und Wheelies kein limitierender Faktor mehr sind, öffnet die Klappe wieder zugunsten des großen Endrohrs mit maximalem Durchfluss.

Abgas für die Kurvenstabilisierung
Abwärts gerichtete Auslässe für zusätzlichen Kurvenschub
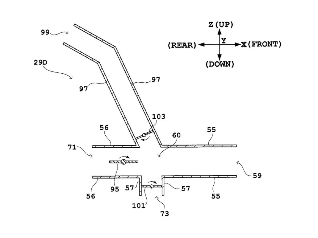
Ein zweites Patent zeigt ein System, das Abgase bei Schräglage durch ein nach unten gerichtetes, enges Rohr führt. Bei maximaler Schräglage zeigt dieser Auslass seitlich zur Kurvenaußenseite. Der austretende Abgasstrahl wirkt wie ein zusätzlicher seitlicher Impuls, der das Motorrad weiter in Richtung Kurveninnenseite drücken soll.
Interessant ist die Überlegung, dass Motorräder bei extremer Schräglage ohnehin nicht die volle Motorleistung absetzen können. Die Umleitung eines Teils der Energie in eine unterstützende Schubwirkung könnte deshalb als sinnvoller Kompromiss gelten.
Variable Auslässe links und rechts
Eine weiterentwickelte Variante beschreibt zwei nach unten und schräg außen gerichtete Rohre. Dadurch soll der Effekt unabhängig davon nutzbar sein, wie stark das Motorrad geneigt ist. Für langsamere Kurven oder geringere Schräglage könnte das System so ebenfalls wirksam sein.

Kombinationssystem mit mehreren Ventilen
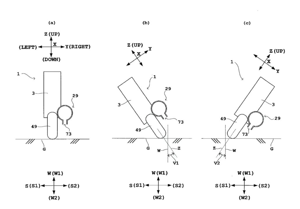
Obwohl Yamaha zwei getrennte Patente eingereicht hat, deuten die Zeichnungen darauf hin, dass letztlich ein kombinierter Aufbau angestrebt wird. Dieser würde sowohl ein großes, nach hinten gerichtetes Rohr für maximale Leistung besitzen als auch kleinere Rohre für Anti-Wheelie und Kurvenstabilisierung.
Mehrere Klappen im Inneren könnten je nach Fahrsituation den geeigneten Abgasweg freigeben. Da sich Ventile innerhalb des Auspuffs befinden und keine äußeren aerodynamischen Elemente bewegen, dürfte ein solches System nicht gegen bestehende oder kommende Reglemente zu aktiver Aerodynamik verstoßen. Bereits heute nutzen viele Rennmotorräder intern gesteuerte Auspuffklappen etwa zur Motorbremsregelung, was die technische Grundlage weiter stützt.
Ausblick
Auch wenn die möglichen Vorteile nur gering sein sollen, könnten sie im Rennsport entscheidend sein. Mit zunehmenden Einschränkungen aerodynamischer Hilfen in MotoGP und WSBK stellt die lenkungsaktive Abgasführung einen alternativen Ansatz dar, um Handling und Fahrstabilität weiter zu optimieren.

→ Dieser Artikel ist Teil unserer umfassenden Übersicht zu Patenten und Zukunftstechnologien – alle Entwicklungen findest du in unserem Überblicksartikel zu Patenten und zukünftiger Motorradtechnik.

- Dr.Wack Polsterreiniger S100 Helmpolster Reiniger, Spray, ohne Herausnehmen, 300mlGrundpreis: € 36,67 / l








