- Halbautomatisches Getriebe mit nur einem Aktuator
- Kombination aus automatisierter Schaltung und Fliehkraftkupplung
- Auslegung für den Einsatz in bestehenden Motor- und Getriebekonzepten
Yamaha treibt die Weiterentwicklung automatisierter Schaltsysteme weiter voran. Während halbautomatische und automatisierte Getriebe lange Zeit ein Nischendasein führten, haben sie sich zuletzt bei mehreren Herstellern etabliert. Auch Yamaha verfolgt diese Entwicklung seit vielen Jahren und arbeitet nun an einer besonders einfachen und kostengünstigen Lösung, die sich deutlich unterhalb der bisherigen Y-AMT Technik positionieren soll.

Vom YCCS zum aktuellen Y-AMT System
Yamaha sammelte bereits früh Erfahrungen mit automatisierten Schaltungen. Vor rund zwei Jahrzehnten kam mit der FJR1300AE das YCCS System zum Einsatz, bei dem Kupplung und Gangwechsel elektromechanisch betätigt wurden. Dieses Grundprinzip lebt im heutigen Y-AMT weiter, bei dem jeweils ein Aktuator für Kupplung und Schaltmechanismus zuständig ist. Über eine elektronische Steuereinheit können sowohl vollautomatische Schaltvorgänge als auch manuelle Gangwechsel per Taster realisiert werden.
Der aktuelle Y-AMT Aufbau ist bereits in mehreren Modellen verfügbar, basiert jedoch weiterhin auf zwei separaten Stellmotoren. Genau an diesem Punkt setzt die nun patentierte Weiterentwicklung an.
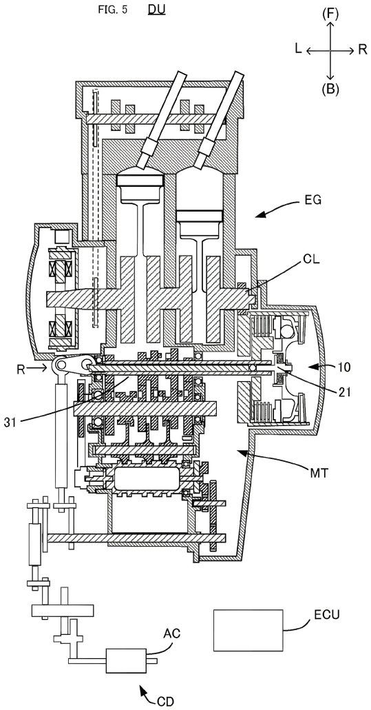
Ein Aktuator für Kupplung und Schaltung
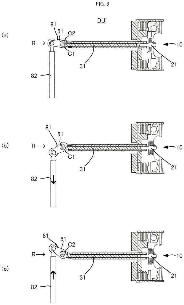
Das neue Konzept sieht vor, Kupplungsbetätigung und Gangwechsel mit nur einem elektromechanischen Servo zu realisieren. Dieser Aktuator ersetzt den herkömmlichen fußbetätigten Schalthebel und greift direkt auf die verzahnte Schaltwelle des Getriebes zu. Die Schaltbewegung entspricht damit grundsätzlich einer klassischen manuellen Gangbetätigung.
Über eine zusätzliche mechanische Verbindung ist derselbe Aktuator gleichzeitig mit dem Kupplungsmechanismus gekoppelt. Während der Gangwechsel eingeleitet wird, trennt die Kupplung kurzzeitig, um anschließend sofort wieder zu schließen. Der gesamte Schaltvorgang erfolgt damit synchron und ohne separaten Kupplungssteller.

Überarbeitete Kupplungsmechanik als Schlüssel
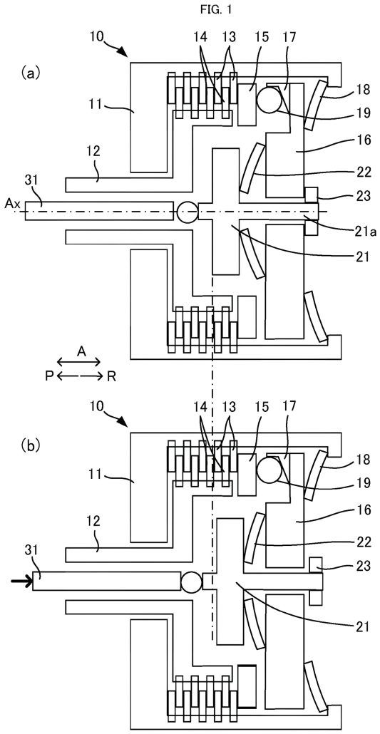
Damit dieses System in beide Schaltrichtungen funktioniert, setzt Yamaha auf eine angepasste Form des Kupplungsbetätigungsmechanismus. Anstelle einer einseitig wirkenden Nocke kommt eine flache, halbkreisförmige Ausführung zum Einsatz. Dadurch wird die Kupplung sowohl beim Hoch- als auch beim Runterschalten zuverlässig entlastet.
Unabhängig davon, ob der Schaltimpuls nach oben oder unten erfolgt, wird der Kupplungsdruck identisch reduziert. Sobald der Schaltvorgang abgeschlossen ist und der Aktuator in seine Ausgangsposition zurückkehrt, stellt sich der Kraftschluss automatisch wieder her.
Fliehkraftkupplung für Anfahren und Anhalten
Ein rein schaltabhängiges Trennen der Kupplung reicht jedoch nicht aus, um komfortables Anfahren oder Anhalten zu ermöglichen. Yamaha kombiniert das System deshalb mit einer Fliehkraftkupplung. Diese öffnet bei niedriger Drehzahl selbsttätig und schließt mit steigender Motordrehzahl wieder.
Beim Anhalten kann der Gang eingelegt bleiben, ohne dass der Motor abstirbt. Beim Anfahren sorgt die Fliehkraftkupplung für ein sanftes Einkuppeln, ohne dass eine manuelle Dosierung notwendig ist. Dieses Prinzip ist bereits aus anderen halbautomatischen Konzepten bekannt und ergänzt die vereinfachte Y-AMT Lösung um eine entscheidende Funktion.

Auslegung für viele Modelle und niedrige Kosten
Laut Patentbeschreibung ist das System bewusst so konzipiert, dass es sich ohne grundlegende Änderungen an bestehenden Motoren und Getrieben integrieren lässt. Der Schaltaktuator sitzt extern auf dem Getriebe, die Fliehkraftkupplung kann klassische Kupplungskonzepte weitgehend ersetzen.
Durch die reduzierte Anzahl an Bauteilen soll die Technik nicht nur günstiger werden, sondern sich auch für kleinere und einfachere Modelle eignen. Besonders Motorräder für Einsteiger oder neue Zielgruppen könnten von der erleichterten Bedienung profitieren, sofern Yamaha die Technologie in die Serie überführt.
Ob und wann die vereinfachte halbautomatische Schaltung tatsächlich in Serienmodellen auftaucht, ist offen. Die Patente zeigen jedoch klar, dass Yamaha das Thema automatisierte Getriebe langfristig und in verschiedenen Preissegmenten weiterverfolgt.
Was bedeutet das für mich als Motorradfahrer?
Die vereinfachte halbautomatische Getriebetechnik könnte den Umgang mit dem Motorrad deutlich entspannter machen, insbesondere im Stadtverkehr oder bei häufigem Stop and Go. Kupplungsarbeit und Gangwechsel würden teilweise oder vollständig automatisiert ablaufen, ohne dass auf ein klassisches Motorradgetriebe verzichtet wird. Das kann die Bedienung erleichtern, die Konzentration auf Verkehr und Fahrbahn erhöhen und das Risiko von Abwürgen beim Anfahren reduzieren. Gleichzeitig bleibt das vertraute Fahrgefühl eines geschalteten Motorrads erhalten, da keine stufenlose Automatik zum Einsatz kommt. Vor allem für Einsteiger, Wiedereinsteiger oder Fahrer, die im Alltag unterwegs sind, könnte eine solche Technik den Zugang zum Motorradfahren vereinfachen, ohne grundlegende Umstellungen zu erzwingen.
→ Dieser Artikel ist Teil unserer umfassenden Übersicht zu Patenten und Zukunftstechnologien – alle Entwicklungen findest du in unserem Überblicksartikel zu Patenten und zukünftiger Motorradtechnik.

- S100 2367S100 2367, Kettenmax Kettenreiniger – 500 ml male
Redakteur bei Motorrad Nachrichten. Fokus auf Technik, Szene und Motorradpolitik – neutral, sachlich, verständlich.
Verantwortlich für die Seiten www.Motorcycles.News, www.Motorrad.Training und den YouTube-Kanal "Motorrad Nachrichten", sowie deren social Media-Seiten.









