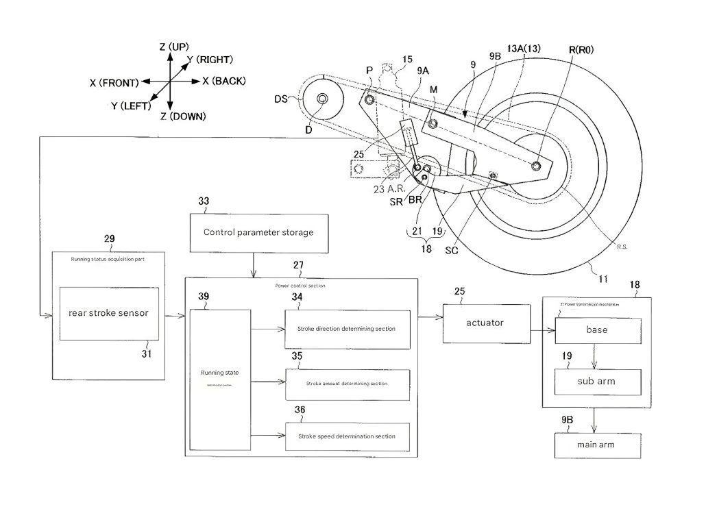
- Patent beschreibt eine Schwinge mit integrierter Hydraulikeinheit und zusätzlichem Gelenk
- Anpassung der Hinterradposition abhängig von Beschleunigung, Verzögerung und Kurvenfahrt
- System ist sensor- und aktuatorgesteuert und nicht rein mechanisch ausgelegt
Die Auslegung einer Hinterradschwinge zählt zu den sensibelsten Aufgaben im Fahrwerksdesign. Form, Steifigkeit und gezielte Flexzonen beeinflussen maßgeblich Beschleunigung, Stabilität und Grip in Schräglage. Besonders im Rennsport stehen diese Anforderungen oft im Widerspruch zueinander. Genau an diesem Punkt setzt ein neues Patent von Yamaha an, das eine Schwinge mit variabler Geometrie beschreibt.

Variable Geometrie als logische Weiterentwicklung bekannter Systeme
Variable Fahrwerksgeometrien sind im Grand Prix Sport kein Neuland. In der MotoGP kamen über Jahre sogenannte Ride Height Devices zum Einsatz, die ursprünglich aus dem Motocross bekannten Holeshot Systemen hervorgingen. Ziel war es, das Motorrad beim Start abzusenken, um die Neigung zum Steigen des Vorderrads zu reduzieren und die Beschleunigung zu verbessern.
Im weiteren Verlauf wurden diese Systeme auch während der Fahrt genutzt. Vor allem beim Herausbeschleunigen aus Kurven ließ sich das Heck gezielt absenken, um Traktion zu maximieren. Beim Anbremsen hob sich das Heck wieder an, was ein präziseres Einlenken und mehr Seitenführung ermöglichen sollte. Diese Lösungen arbeiteten rein mechanisch, da elektronische Systeme im Reglement verboten sind.
Verbotene Technik als Inspirationsquelle
Seit 2023 sind bewegliche Front Systeme während der Fahrt untersagt. Ab der Saison 2027 sollen auch Heckabsenkungen und Holeshot Systeme vollständig verboten werden. Das nun veröffentlichte Yamaha Patent zeigt, wie sich diese Technologie theoretisch weiterentwickeln ließe, wenn es keine regulatorischen Einschränkungen gäbe.
Im Gegensatz zu den bisher bekannten Lösungen greift Yamaha nicht in die Umlenkung des Federbeins ein. Stattdessen wird ein neuer Ansatz verfolgt, bei dem die Veränderung direkt in der Schwinge selbst erfolgt.

Aufbau der Schwinge mit integriertem Hydrauliksystem
Kern der Konstruktion ist eine Schwinge mit einem zusätzlichen Gelenk im mittleren Bereich. Der vordere Teil ist klassisch mit dem Rahmen und der Federbein-Anlenkung verbunden. Der hintere Teil, an dem das Hinterrad geführt wird, kann sich jedoch relativ dazu bewegen.
Diese Bewegung wird durch eine im Inneren der Schwinge verbaute Hydraulikeinheit gesteuert. Ein Exzentermechanismus verändert dabei die effektive Länge einer unteren Verstrebung. Je nach Stellung kann das Hinterrad angehoben oder abgesenkt werden, ohne das Federbein direkt zu beeinflussen. Das Resultat ist eine gezielte Änderung der Geometrie, die unabhängig vom eigentlichen Federweg arbeitet.
Sensorik und Aktuator statt Mechanik
Besonders auffällig ist der im Patent beschriebene Steuerungsansatz. Das System soll von einem aktiven Aktuator betätigt werden, der auf Sensordaten reagiert. Erfasst werden sollen unter anderem Beschleunigung, Verzögerung und Kurvenzustand. Auch Veränderungen der Kettenspannung durch Lastwechsel fließen laut Beschreibung in die Regelung ein.
Ein solcher Ansatz wäre im aktuellen MotoGP Reglement nicht zulässig. Das deutet darauf hin, dass es sich weniger um ein kurzfristiges Rennprojekt handelt, sondern eher um ein experimentelles Entwicklungstool. Ziel dürfte es sein, die Zusammenhänge zwischen Schwingenflex, Geometrie und Traktion besser zu verstehen.

Hoher Aufwand mit unklarem Einsatzgebiet
Die im Patent beschriebene Lösung ist technisch äußerst komplex. Zusätzliche Gelenke, Hydraulik, Sensorik und Aktuatoren erhöhen Gewicht, Bauraum und Fehleranfälligkeit. Ein direkter Einsatz im Rennsport oder in Serienmotorrädern erscheint daher eher unwahrscheinlich.
Dennoch dürfte Yamaha aus der Entwicklung wertvolle Erkenntnisse gewinnen. Selbst wenn das System nie realisiert wird, können die gewonnenen Daten helfen, zukünftige Schwingen konventioneller Bauart gezielter auf die widersprüchlichen Anforderungen von Beschleunigung und Kurvenfahrt abzustimmen.
Was bedeutet das für mich als Motorradfahrer?
Für den normalen Motorradfahrer hat das beschriebene System zunächst keine direkte Auswirkung. Es handelt sich um ein experimentelles Patent, das vor allem der Grundlagenforschung dient und weder für Serienmotorräder angekündigt noch kurzfristig realistisch umsetzbar ist. Dennoch zeigen solche Entwicklungen, in welche Richtung Hersteller wie Yamaha langfristig denken. Erkenntnisse aus komplexen Versuchsaufbauten fließen häufig indirekt in spätere Serienfahrwerke ein, etwa durch optimierte Schwingensteifigkeit, besser abgestimmte Geometrien oder ein ausgewogeneres Zusammenspiel von Traktion und Stabilität. Für den Fahrer bedeutet das nicht mehr Technik zum Bedienen, sondern potenziell ein neutraleres, berechenbareres Fahrverhalten zukünftiger Motorräder, ohne dass aktiv eingegriffen werden.
→ Dieser Artikel ist Teil unserer umfassenden Übersicht zu Patenten und Zukunftstechnologien – alle Entwicklungen findest du in unserem Überblicksartikel zu Patenten und zukünftiger Motorradtechnik.
- DR. O.K.WACK 2409DR. O.K.WACK S100 Visier- und Helmreiniger (100 ml) 2409 Bekleidungspflege-/reparatur, Motorrad
Redakteur bei Motorrad Nachrichten. Fokus auf Technik, Szene und Motorradpolitik – neutral, sachlich, verständlich.
Verantwortlich für die Seiten www.Motorcycles.News, www.Motorrad.Training und den YouTube-Kanal "Motorrad Nachrichten", sowie deren social Media-Seiten.









