[ss_click_to_tweet tweet=“Aprilias Dreirad-Projekt macht Fortschritte – auch in der MOTORRAD NACHRICHTEN APP“ content=“Aprilias Dreirad-Projekt macht Fortschritte – auch in der MOTORRAD NACHRICHTEN APP“ style=“default“]
Wie bereits im September 2020 berichtet, arbeitet Aprilia an einem Leaning-Multiwheeler im Stil der Yamaha Niken. Jetzt sind weitere Patentzeichnungen aufgetaucht, die einige Fortschritte zeigen.
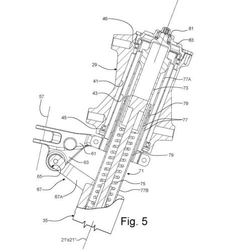
In den Zeichnungen kann man Änderungen erkennen. Man setzt jetzt auf ein schlankeres Aufhängungslayout, die ursprünglichen Doppelquerlenker fallen weg. Die Parallelogramm-ähnliche Neigungsgeometrie wird beibehalten, wobei ein scherenartiges Gestänge dabei hilft, das Trike zu tragen.
Zusätzlich gibt es Zeichnungen einer weiteren Konstruktion, dort kommt ein Kugelgelenk am oberen Ende des Federbeins zum Einsatz, während am unteren des Federbeins ein einzelnes Lenkgestänge vorhanden ist.
Ob oder wann der Leaning Multiwheeler auf den Markt kommen wird, ist noch nicht klar. Eine offizielle Ankündigung steht bisher noch aus. Auch wenn die Patentzeichnungen jetzt erst veröffentlicht wurden, stammen sie bereits aus dem Jahr 2019. Wurde an dem Patent entsprechend weiterentwickelt, könnte theoretisch schon bald ein Leaning Multiwheeler von Aprilia auf den Markt kommen.

- Shoei 12060293Shoei Neotec 2 Klapphelm Blau male















Leave a Reply