- Camera and blind spot detection are designed to detect approaching vehicles.
- Steering intervention is either supportive or autonomous, depending on the driver’s reaction.
- Patent describes a multi-stage, situation-dependent intervention concept.
Motorcycles have become significantly more complex in recent years. ABS, traction control, and driving modes are now considered standard features. With a new patent, Honda is now going one step further and describing a system that not only provides support but also intervenes in the steering itself in an emergency.

What’s behind the Honda patent
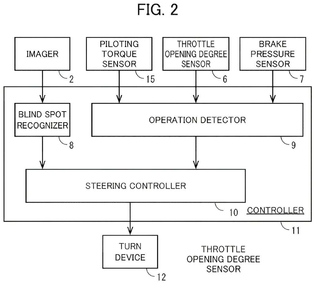
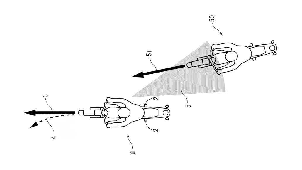
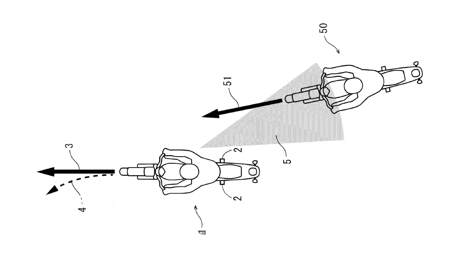
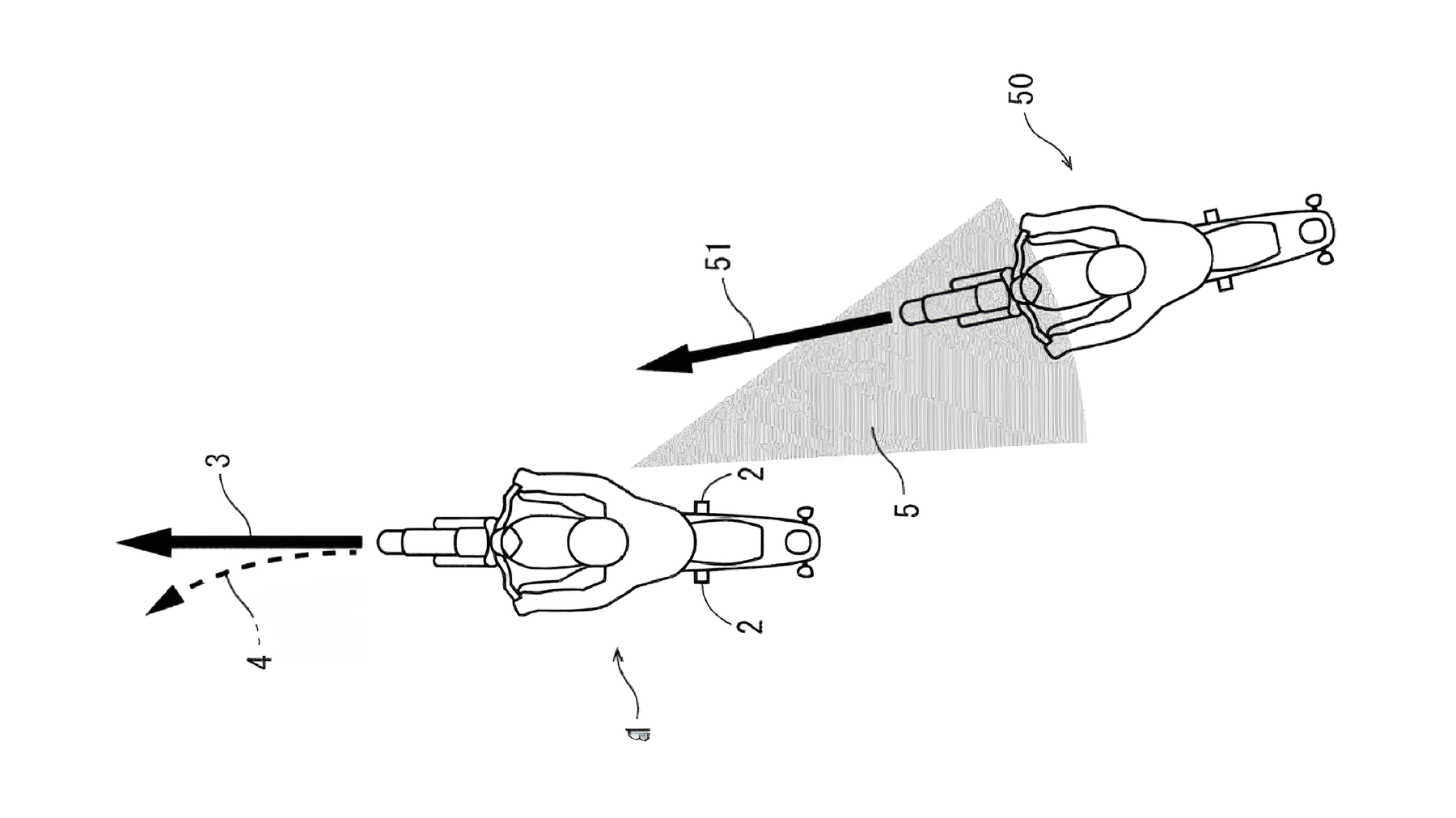
The patent describes a camera-based monitoring system that observes the area around the motorcycle. Particular attention is paid to the blind spot. If another vehicle with collision potential approaches there, the system is designed to activate.
At the heart of the technology is a control unit that evaluates image data, detects an approaching vehicle, and then decides whether and to what extent steering intervention is necessary. The system takes into account the current driving conditions as well as driver inputs such as braking, acceleration, or steering movements.
Two operating modes for different situations
In the patent, Honda distinguishes between two basic scenarios. If the system detects that the driver is already reacting to the danger, for example by swerving or braking, the technology is designed to intervene in a supportive manner. In this case, additional steering torque is provided to reinforce the initiated movement.
If, on the other hand, the rider does not react, the system should activate automatically. The steering intervention is gradual and with increasing torque. The aim is to move the motorcycle out of the danger zone without abruptly affecting its balance or stability.

More than just a warning
Unlike existing blind spot warning systems, which are already used on some motorcycles, Honda’s approach goes beyond visual or audible alerts. The system also analyzes whether the rider is responding to the warning.
If there is no response, the technology briefly takes the initiative. According to the patent, this involves using data from steering torque sensors, throttle position, and brake pressure, among other things. Only when the system recognizes that active steering intervention is possible and appropriate is it initiated.
Differences from previous motorcycle technology
Previous assistance systems in the motorcycle sector do not directly intervene in the steering. Cornering ABS, traction control, and wheelie control regulate brake pressure or engine power, but do not change the direction of travel.
Honda emphasizes in the patent that sudden jerking of the handlebars should be avoided. Instead, it refers to controlled and gradual intervention. Nevertheless, the idea of a motorcycle that independently influences the direction of travel takes some getting used to for many riders.
Opportunities and open questions
On paper, such a system could prevent accidents, for example in the event of unintentional lane changes or vehicles overlooked in the blind spot. At the same time, the technology raises questions. Motorcycling is heavily based on situational awareness, forward planning, and clear escape routes.
It remains unclear how reliably the system can assess complex traffic situations. An evasive maneuver to avoid a collision must not automatically lead to a new danger. There is also concern that even slight, unexpected steering interventions could startle or irritate the rider.

Patent does not mean ready for series production
As with many patent applications, it remains to be seen whether and when the technology described will actually appear in a production motorcycle. The document suggests that Honda has been working on this topic for several years. However, there is no concrete announcement for a production model.
This means that the project joins a long list of ideas that may never make the transition from theory to practice. Nevertheless, the patent shows the direction in which motorcycle safety could develop in the future.
A glimpse into the possible future
While cars have been equipped with active lane departure warning and emergency steering systems for years, the motorcycle industry is only slowly beginning to explore comparable concepts. Whether a motorcycle that swerves autonomously will be accepted remains to be seen.
One thing is certain: Honda’s patent is a hot topic of conversation. There is a fine line between additional safety and the loss of direct control. Where this line will be drawn in the future is likely to be one of the most exciting questions in motorcycle manufacturing in the coming years.
→ This article is part of our comprehensive overview of patents and future technologies – find all developments in our Patents and Future Motorcycle Technology overview.
- DR. O.K.WACK 2409DR. O.K.WACK Bekleidungspflege-/reparatur, Motorrad 2409 0.1l








