Reasons for the withdrawal: more than just finances
The official reasons for Suzuki’s withdrawal were manifold. Financial challenges and changing market trends were cited as the main reasons. However, carbon neutrality and sustainability considerations also played a key role. While some of the reasons are understandable, the decision remains regrettable, especially as Suzuki was at a stage where it was making a name for itself in MotoGP with innovative technology and clever aerodynamics.
The importance of aerodynamics to Suzuki’s success
Suzuki was known for perfecting the in-line four-cylinder engine, similar to Yamaha. In recent years, this has made the brand a serious competitor for other major manufacturers such as Honda and Yamaha, who dominated MotoGP for a long time. Suzuki’s progress in aerodynamics was particularly noticeable. Thanks to a new aero package that introduced F1-like technologies, the GSX-RR became one of the fastest machines on the straights, with top speeds of over 220 mph (approx. 354 km/h). These aerodynamic advances also contributed to the machine having one of the best cornering positions in the field.
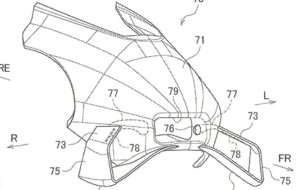
A recently published patent revealed that Suzuki was working on an innovative aerodynamic concept before withdrawing from MotoGP: ducted winglets. These specially designed wings were intended to generate additional downforce under extreme conditions such as acceleration, braking and cornering, while minimizing drag on the straights. The patented designs show several variations of this system, including a version where air is channeled through slots on the underside of the wings. This technology could reduce downforce at high speeds without compromising it at lower speeds.
The inspiration from Formula 1
The idea behind ducted winglets can be traced back to systems developed in Formula 1 over a decade ago. One well-known example is the “F-duct”, which McLaren introduced in 2010. This system made it possible to reduce downforce and therefore drag at high speeds through targeted airflow. Although these systems are now banned in Formula 1, Suzuki adopted similar concepts to optimize their MotoGP machines.
Suzuki’s patented system could even be controlled by valves that either manually or electronically switch the airflow under the wings on or off in different riding conditions. This could be particularly beneficial when cornering, as it allows downforce to be activated specifically on one side of the machine, improving stability and grip.
A look into the future: will the patent ever become reality?
It remains unclear whether these innovative ideas were ever used on Suzuki’s MotoGP bikes before the company withdrew from the competition. Many of the prototypes and parts were destroyed after the withdrawal, making it difficult to assess the actual progress made. Nevertheless, the patent shows how advanced the technologies Suzuki was working on were.
It cannot be ruled out that other teams will take a close look at the patent to see if they could benefit from these ideas. MotoGP is constantly evolving and the aerodynamic advances that Suzuki were aiming for could play a role in the future when it comes to putting the fastest and most stable machines on the track. As the winglets at the front will have to be 5 cm narrower from 2027, it will certainly be interesting for many manufacturers to see how it is possible to compensate for this “disadvantage”.
However, it remains questionable to what extent the sport could benefit from this, as the reduction in aerodynamics should actually be introduced because overtaking has become increasingly difficult and the races have become much more boring as a result. Perhaps it would be better to let the patent disappear into oblivion again very quickly.
[amazon bestseller=”MotoGP Suzuki” items=”1″]












