- Patentnummer US 2025/0354528 A1, eingereicht am 20. Mai 2024, veröffentlicht am 20. November 2025
- Elektronisch gesteuerter Schieber zwischen Kolben und Zylinderwand soll Gaswechsel präzisieren
- Potenzielle Anwendung in Hybridfahrzeugen möglich
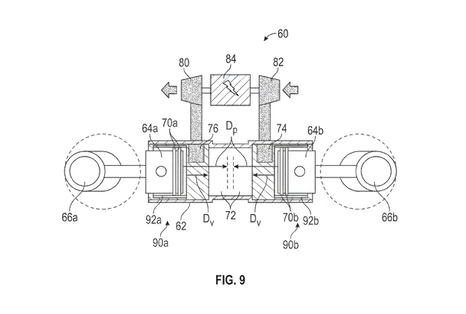
Die Idee des Zwei Takt Motors erlebt gelegentlich ein Comeback in Ingenieurskreisen, auch wenn moderne Serienmotoren fast ausschließlich als Viertakter ausgelegt sind. Nun zeigt ein Patentantrag von General Motors, dass sich einer der größten Automobilhersteller der Welt mit einer zeitgemäßen Weiterentwicklung des Zwei Takt Prinzips beschäftigt. Das Dokument führt eine neu konzipierte Schiebersteuerung ein, die mehrere der klassischen Nachteile eines Zwei Takters verringern soll.

Elektronisch gesteuerter Schieber statt feststehender Kanäle
Konventionelle Zwei Takt Motoren arbeiten mit fest im Zylinder angeordneten Einlass und Auslasskanälen, die allein durch die Bewegung des Kolbens freigegeben oder verschlossen werden. Diese Bauweise ist kompakt, aber sie bringt Schwierigkeiten bei Abdichtung, Gemischführung und Abgasqualität mit sich. Der von GM vorgeschlagene Ansatz setzt deshalb auf ein bewegliches Ventilelement zwischen Kolben und Zylinderwand.
Dieses Bauteil gleitet entlang der Zylinderachse und wird synchron zum Kolben bewegt. Je nach Stellung deckt es die Einlass und Auslassöffnungen ab oder gibt sie frei. In einigen Ausführungen ist das Ventilelement als umlaufende Hülse ausgelegt, in anderen wird der Luft und Abgasstrom getrennt geführt. Die Steuerung erfolgt über einen Aktuator, der die Hubbewegung abhängig vom aktuellen Arbeitstakt regelt.

Ziel: Präzisere Gaswechsel und weniger Verschleiß
Ein zentraler Vorteil der Konstruktion soll die verbesserte Abdichtung sein. Zwar verfügt der Kolben weiterhin über Kolbenringe, doch verhindert das Schiebersystem, dass die Ringe an den Kanten der Kanäle anschlagen. Stattdessen „ferryt“ das Ventilelement die Ringe über die Öffnungen hinweg, was Beschädigungen vorbeugen und den Verschleiß mindern soll.
Darüber hinaus lässt sich der Zeitpunkt des Gaswechsels unabhängig von der Kolbenposition anpassen, was bei herkömmlichen Zwei Taktern nicht möglich ist. Die Steuerung per Aktuator könnte theoretisch variable Öffnungszeiten erlauben, wenngleich dies im Patentantrag nicht eindeutig bestätigt wird. Mehr Kontrolle über die Gasströme soll die Effizienz steigern, Emissionen reduzieren und die Haltbarkeit des Motors verbessern.
Verbesserungspotenzial für moderne Anwendungen
Zwei Takt Motoren gelten dank hoher Leistungsdichte und geringer Bauteilzahl als attraktive Option, wurden jedoch im Pkw Bereich nahezu vollständig von Viertaktern verdrängt. Die GM Entwicklung soll mehrere ihrer Nachteile ausgleichen und könnte damit neue Einsatzbereiche eröffnen. Das Patent erwähnt die mögliche Verwendung in Hybridfahrzeugen, was auf ein Konzept mit kompaktem, leichten Verbrennungsmotor in Kombination mit elektrischer Unterstützung hindeutet.
Solch ein Aufbau könnte laut Patentbeschreibung Vorteile bei Kosten, Packaging und Leistungsgewicht bieten. Neben dem Automobilsektor sollen prinzipiell auch Anwendungen in Motorrädern, Werkzeugen, Baumaschinen oder Luftfahrzeugen denkbar sein. Ob und wann GM die Technik in ein Serienprojekt überführt, ist allerdings unklar. Wie bei vielen Zwei Takt Konzepten bleibt abzuwarten, ob die Idee über die frühe Entwicklungsphase hinaus weiterverfolgt wird.

- Abus 10079270-01Abus Granit Detecto XPlus 8008 2.0, Alarm-Bremsscheibenschloss – Silber male








