[ss_click_to_tweet tweet=“Patent – Yamaha erkennt eigenen Schaden und bekommt Hämatome – auch in der MOTORRAD NACHRICHTEN APP“ content=“Patent – Yamaha erkennt eigenen Schaden und bekommt Hämatome“ style=“default“]
Yamaha hat einen Rahmen patentiert, der durch einen Aufprall „blaue Flecken“ bekommt und den Fahrer über mögliche Schäden informiert.
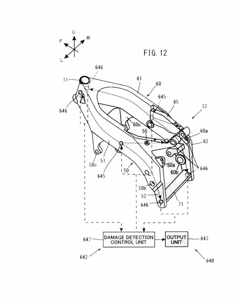
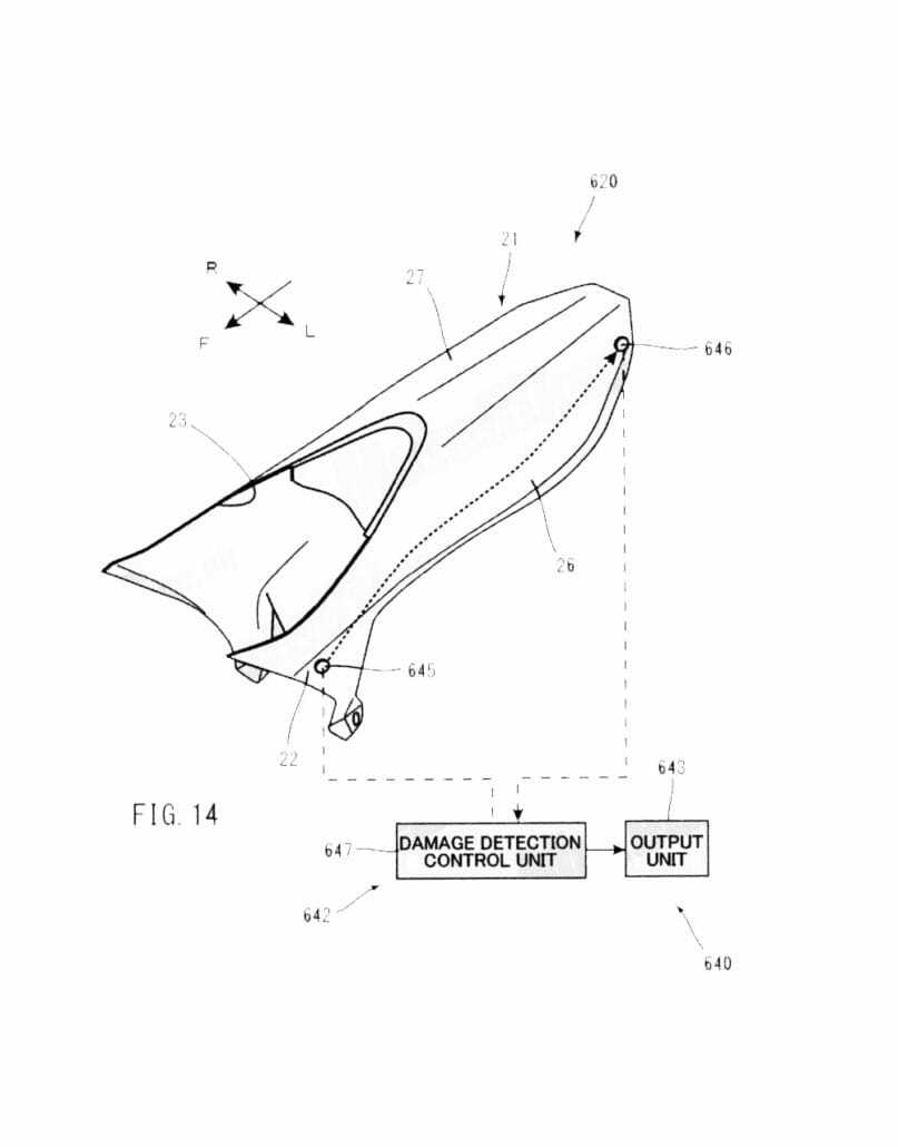
Der Rahmen besteht aus Kohlefaser, in der ein Kabel eingebettet wurde, das eine geringe Schlagfestigkeit aufweist als der Rahmen selbst (gepunktete Linien in der Skizze). Wird eines der Kabel beschädigt, sendet das System einen Alarm an das Schadenerkennungssystem. Diese informiert wiederum den Fahrer über die Beschädigung.
Daneben sollen die beschädigten Kabel auch eine Verfärbung bestimmter Kontrollpunkte auslösen, um auch abseits der Elektronik auf Beschädigungen hinzuweisen.
Man darf sich wohl fragen, wozu so ein System gut sein soll, da man einen Schaden am Rahmen ja meist auch optisch sieht. – Das gilt allerdings in erster Linie nur bei Aluminium-Rahmen. Bei Rahmen aus Carbon ist das etwas anders, da man dort Risse optisch oft gar nicht erkennt, was aber zu schwerwiegenden Problemen führen könnte.
Das System soll rechtzeitig vor einem Schaden warnen und damit einen unentdeckten Rahmenbruch verhindert werden.
[amazon box=“B0736L8WCS“]
















