Rückblick: Yamahas frühe Turbo-Experimente
Yamahas Interesse an turbogeladenen Motorrädern ist nicht neu. Bereits 2020 veröffentlichte der japanische Hersteller erste Details zu einem Prototypen mit einem völlig neu entwickelten Dreizylinder-Motor mit 847 cm³. Obwohl die Hubraumgröße jener des MT-09 entsprach, handelte es sich um einen völlig eigenständigen Motor, eingebaut in ein modifiziertes Chassis der MT-10. Dieser Versuchsträger lieferte beeindruckende 180 PS (132 kW) bei 130 lb-ft (ca. 176 Nm) Drehmoment und konnte gleichzeitig den CO₂-Ausstoß um rund 30 Prozent sowie die Emissionen von Stickoxiden (NOx), Kohlenmonoxid (CO) und unverbrannten Kohlenwasserstoffen deutlich senken.
Diese Entwicklung folgt dem Trend aus der Automobilindustrie, wo Hersteller wie BMW und Mercedes-Benz zunehmend auf kleinere, aufgeladene Motoren setzen, um die Emissionsvorgaben zu erfüllen – ohne dabei Leistungseinbußen hinnehmen zu müssen.
Die Herausforderungen beim Turbo-Motorrad
Trotz der Vorteile steht die Turbo-Technologie bei Motorrädern vor besonderen Hürden. Der verfügbare Platz für Turbolader, Ladeluftkühler und Rohrleitungen ist deutlich begrenzter als im Auto. Zudem machen sich Gewichtszunahmen und Massenzentralisierung stärker bemerkbar. Auch das sogenannte „Turboloch“ – die Verzögerung zwischen Gasgriffbewegung und tatsächlichem Leistungsanstieg – fällt bei Motorrädern wesentlich stärker ins Gewicht, da die Gasannahme hier besonders direkt und sensibel ausfällt.
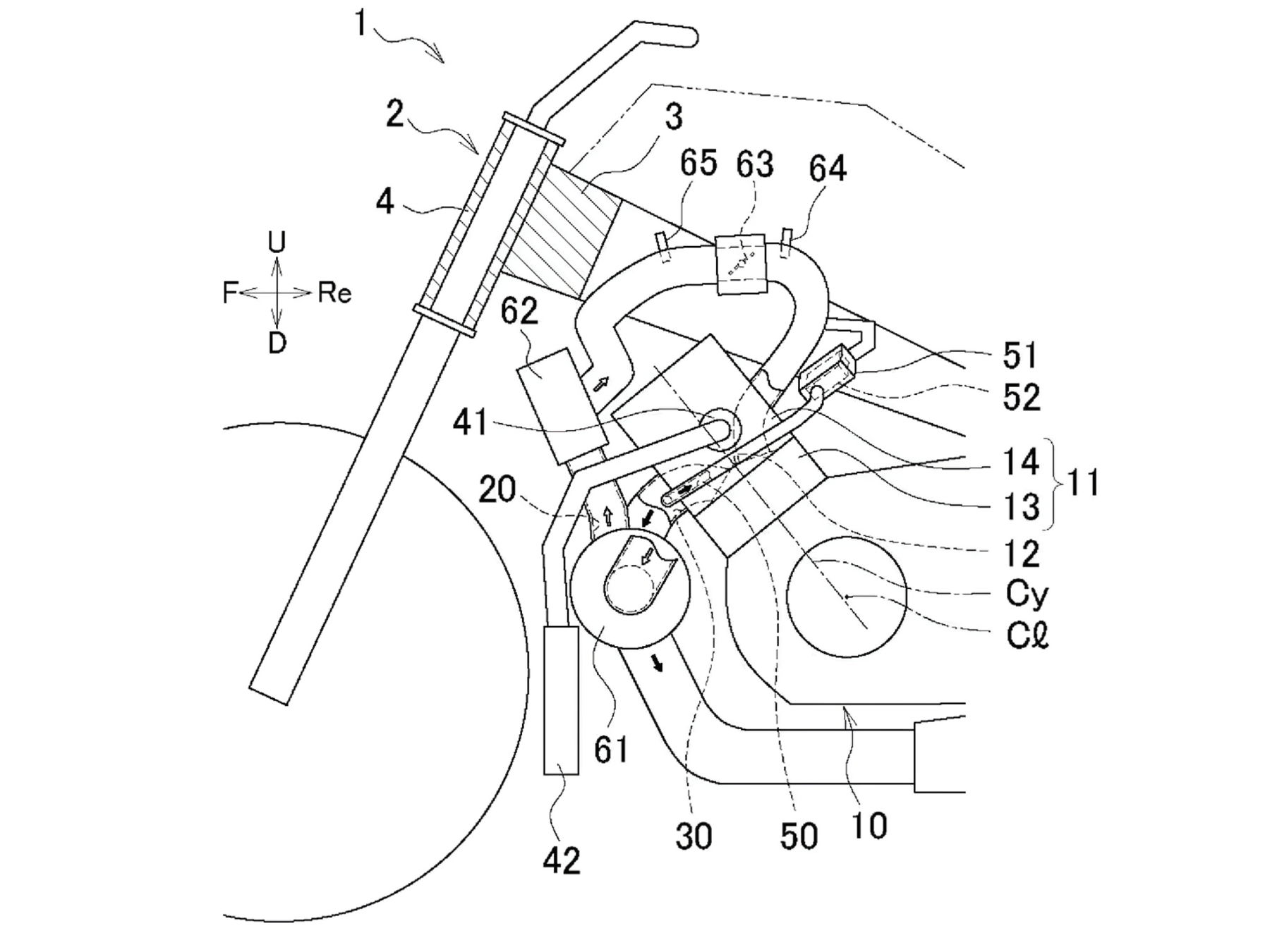
Yamahas Lösung: Der E-Turbo
Die in den neuen Patentanmeldungen beschriebene Technik nutzt einen E-Turbo, wie er bereits bei Herstellern wie Garrett und BorgWarner im Automobilbereich zum Einsatz kommt. Dieser kombiniert die klassische Abgas-Turbinentechnik mit einem kleinen Elektromotor, der das Verdichterrad schon bei niedrigen Drehzahlen antreibt – also dann, wenn noch nicht genug Abgasstrom für herkömmlichen Ladedruck vorhanden ist. Das Resultat: kein spürbares Turboloch, sondern sofortiger Schub unabhängig von der Drehzahl.
Anders als frühere Konzepte – etwa Suzukis nie realisierter Versuch aus dem Jahr 2015 mit einem elektrisch unterstützten Vierzylinder-Turbomotor samt Hybridantrieb – setzt Yamaha auf eine vereinfachte Lösung. Das System verzichtet auf schwere Akkus oder komplexe Hybridsysteme. Stattdessen speist ein Generator, der direkt mit der Kurbelwelle verbunden ist, den Elektromotor des Turboladers. Optional könnten kurzzeitig Strom speichernde Kondensatoren eingesetzt werden. Das Ganze soll über ein Hochvoltsystem laufen – möglicherweise mit 48 Volt, wie es in modernen Pkw mit E-Turbos Standard ist.
Fokus der Patente: Effiziente Stromführung
Ein zentrales Thema in Yamahas Patenten ist die Verkürzung der Wege, über die der Hochvoltsstrom zwischen Generator, Steuereinheit und E-Turbo fließt. Je kürzer und kompakter die Leitungen, desto effizienter und leichter das gesamte System – entscheidend für ein praxisnahes Motorradkonzept.
Turbos im Motorradbau: Vom Exoten zur Zukunftstechnologie?
Obwohl viele Turbo-Projekte in der Motorradwelt bisher gescheitert sind oder nie über das Prototypenstadium hinausgingen, ist das Thema wieder aktuell. Kawasakis H2-Reihe mit mechanischem Kompressor zeigt seit mittlerweile zehn Jahren, dass aufgeladene Motorräder in Serie funktionieren können. Der erwartete Start von Hondas elektrisch aufgeladenem V3R dürfte zusätzliches Interesse wecken.
Auch Suzuki hatte ursprünglich geplant, seinen 776 cm³ großen Parallel-Twin – wie er heute in GSX-8S, GSX-8R und V-Strom 800 verbaut ist – als Turbomotor zu entwickeln. Das Projekt wurde jedoch zugunsten einer konventionellen Version angepasst.
Yamaha hingegen hält offenbar weiterhin an der Idee des turbogeladenen Motorrads fest – diesmal jedoch mit einem entscheidenden Unterschied: Die Kombination aus bewährter Abgasturboladertechnik und intelligenter Elektrounterstützung könnte die Nachteile beseitigen, die bislang gegen den Serieneinsatz gesprochen haben.


→ Dieser Artikel ist Teil unserer umfassenden Übersicht zu Patenten und Zukunftstechnologien – alle Entwicklungen findest du in unserem Überblicksartikel zu Patenten und zukünftiger Motorradtechnik.

- SW-MOTECH Satteltaschenpaar Quick-Lock Blaze PRO H 30-40 Liter - Motorradzubehör - Motorradgepäck Neutral








