[ss_click_to_tweet tweet=“Automatisches Notbremssystem von Harley-Davidson – auch in der MOTORRAD NACHRICHTEN APP“ content=“Automatisches Notbremssystem von Harley-Davidson – auch in der MOTORRAD NACHRICHTEN APP“ style=“default“]
Harley-Davidson arbeitet an einem automatischen Notbremssystem, wie aus jetzt veröffentlichten Patentanmeldungen hervorgeht.
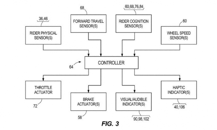
Umgebung und Fahrer werden überwacht
Eine Reihe von Sensoren überwacht die Umgebung des Motorrads, um Gefahren erkennen zu können und um im Notfall eine Bremsung einleiten zu können. Neben der Straße soll aber auch der Fahrer selbst überwacht werden. Sensoren in den Lenkergriffen und im Sitz sollen ein Verhalten des Fahrers registrieren. Die gesammelten Daten sollen das System erkennen lassen, ob der Fahrer eine Gefahrensituation erkannt hat und entsprechend handelt.
Auch eine Kamera am Helm wird beschrieben, die die Augen des Fahrers beobachten. Hier kommt die sogenannte Eye-Tracking-Technologie zum Einsatz, die überwacht und registriert, wohin der Fahrer sieht. Auch das lässt Rückschlüsse zu, ob der Fahrer eine Gefahrensituation erkannt hat.
Selbstständige Bremsung oder Bremsverstärkung
Bevor das System allerdings die Notbremsung einleitet, werden eine Reihe von Warnleuchten, akustische und auch haptische Signale ausgegeben, um den Fahrer auf die Gefahrensituation aufmerksam zu machen. Neben blinkenden Warnleuchten und einem schrillen Ton werden also auch die Lenkergriffe zum Vibrieren gebracht, um den Fahrer sprichwörtlich wachzurütteln.
Das System soll bis zum Stillstand des Motorrads abbremsen können. Daneben soll es auch auf intelligente weise einschätzen, wie viel Bremskraft wirklich nötig ist. Das könnte auch zum Eingriff des Assistenzsystems führen, falls der Fahrer selbst nicht stark genug bremst. Hier könnte die Bremskraft zusätzlich verstärkt werden.
- Logo der Isle of Man TT in einem passenden Straßenrennen -Design.
- Das perfekte Geschenk für jeden Motorrad -Fahrer, Freunde des Motorsports und Biker
- Klassisch geschnitten, doppelt genähter Saum.
Letzte Aktualisierung am 12.11.2025 / *Affiliate Links / Bilder von der Amazon Product Advertising API

















