[ss_click_to_tweet tweet=“BMW-Patent – aktive Aerodynamik – auch in der MOTORRAD NACHRICHTEN APP“ content=“BMW-Patent – aktive Aerodynamik – auch in der MOTORRAD NACHRICHTEN APP“ style=“default“]
Im Motorsport und auch bei aktuellen Superbikes werden mittlerweile Winglets verbaut, um die Aerodynamik der Motorräder zu verbessern. Meist sind sie an der Front seitlich verbaut, um mehr Anpressdruck am Vorderrad zu generieren und um einer Wheelie-Neigung entgegenzuwirken.
Wie auch andere Hersteller arbeitet BMW am nächsten Schritt, einer Aerodynamik, die je nach Fahrsituation an die entsprechenden Bedürfnisse angepasst werden kann.
Jeder Flügel kann extra angesteuert werden
In der Patentanmeldung von BMW sieht man ein aktives Winglet-System mit beweglichen aerodynamischen Flächen, die unabhängig voneinander angesteuert werden können, um den Abtrieb je nach Bedarf zu verändern. Dabei soll die ECU die Drosselklappenstellung, Bremskraft, Geschwindigkeit, Beschleunigung und Schräglage berücksichtigen um eine maximale Bodenhaftung, möglichst viel oder möglichst wenig Luftwiderstand zu erzeugen.
Dadurch könnte das Motorrad beim Beschleunigen eine bessere Traktion bekommen, eine Kurvenlage unterstützt, hohe Geschwindigkeiten stabilisiert, oder auch ein Bremsvorgang durch zusätzlichen Luftwiderstand verkürzt werden.
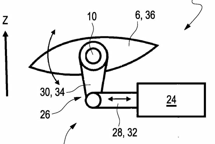
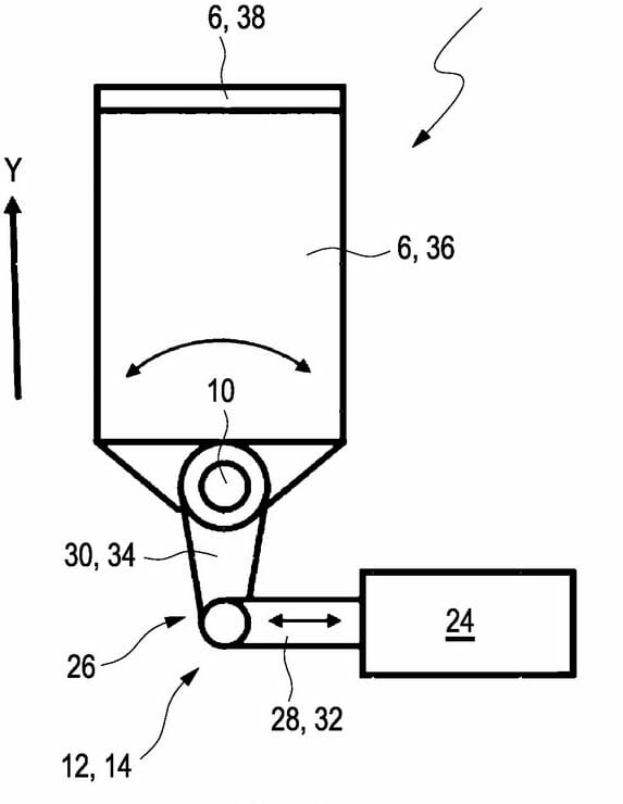
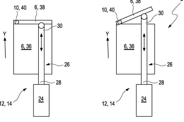
Montage an den Dämpfungskomponenten
Die Zeichnungen der Patentanmeldung sind nur sehr schemenhaft. Zu beachten ist allerdings, wo die aerodynamischen Komponenten montiert sind. Sie wurden nicht in die Verkleidung integriert, wie es bei aktuellen Superbikes der Fall ist, sondern an Gabel und Schwinge befestigt.
Dabei ist diese Idee im Grunde nicht neu. Bereits Formel1 Fahrzeuge aus den 60ern waren entsprechend ausgestattet. Das wurde später durch die Regularien des Motorsports verboten, daher sieht man das heutzutage nicht mehr.
Die Montage an den Dämpfungselementen bringt allerdings einige Vorteile. So kann der Abtrieb genutzt werden, ohne dass sich der Druck auf die Federelemente auswirkt. Dadurch müsste man die Federung nicht entsprechend versteifen und das Fahrwerk könnte auch bei hohen Geschwindigkeiten flexibler auf Unebenheiten reagieren.
Bewegliche Flügel
Das BMW-Patent zeigt aber nicht nur Flügel, die in der Neigung angepasst werden können, es soll auch möglich sein sie nach vorn oder hinten zu bewegen. Da die Winglets weit unten montiert sind, könnte man sie einklappen, um die Schräglagenfreiheit nicht zu behindern.
Ob die Winglets so in einem Serienmotorrad verbaut werden, bleibt Spekulation. Da das Regelwerk der WorldSBK mittlerweile allerdings Winglets zulässt, solange sie auch am Serienmotorrad vorhanden sind, wären bewegliche Winglets zukünftig sehr gut denkbar. Wahrscheinlich werden sie aber auf die Homologationsmodelle für den Rennsport begrenzt.
[amazon box=“B07N22JPHL“]












