Bisher hat BMW Systeme entwickelt, bei denen sich die Scheinwerfer innerhalb ihrer Gehäuse bewegen, um der Neigung und den Bewegungen des Motorrads entgegenzuwirken. Die adaptive Kurvenlichtoption „Headlight Pro“ auf der R 1250 GS ermöglicht beispielsweise eine Drehung des Abblendlichts um bis zu 35 Grad in beide Richtungen, um die Neigung in Kurven auszugleichen.
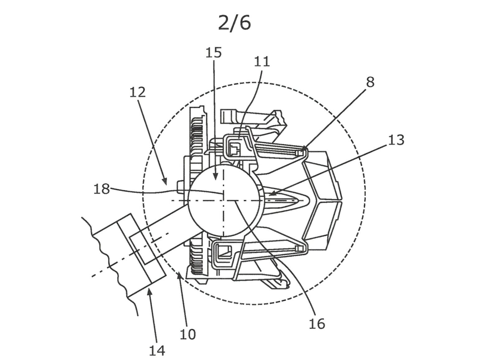
Die Innovation: Ein auf einem Drei-Achsen-Gimbal montierter Scheinwerfer
Der neueste Patentantrag von BMW führt diese Entwicklung weiter, indem er den gesamten Scheinwerfer auf einem Drei-Achsen-Gimbal montiert. Diese Technologie, ähnlich den Stabilisierungssystemen von Kameras, soll den Scheinwerfer stabil halten, während sich das Motorrad darunter bewegt. Dieses System passt sich an die Neigung, Nickbewegungen und die Ausrichtung des Motorrads an, um die Straße effektiv auszuleuchten. Die Steuerung erfolgt über die inertiale Messeinheit (IMU), die die Bewegungen des Motorrads überwacht.
Neuer Ansatz mit dem R 1300 GS und Integration einer Kamera
Beim neuen R 1300 GS verfolgt BMW einen anderen Ansatz, indem es eine LED-Matrix verwendet, die den Lichtstrahl je nach Neigung des Motorrads ausrichtet, ohne den Scheinwerfer physisch zu bewegen. Interessant im neuen Patentantrag ist die Hinzufügung einer Kamera im Scheinwerfer, deren genauer Zweck noch nicht spezifiziert wurde. Es wird angenommen, dass diese Kamera zur Unterstützung weiterer Fahrassistenzsysteme dienen könnte. Ein möglicher Einsatzbereich könnte die Ermöglichung adaptiver Matrix-Scheinwerfer sein, eine Technologie, die in modernen Autos zu finden ist und die es ermöglicht, das Fernlicht dauerhaft zu nutzen, ohne entgegenkommende Fahrzeuge zu blenden.
Technologischer Fortschritt oder nur eine Spielerei?
Durch die Kombination aus Gimbal, Kamera und LED-Matrix in einem einzigen Modul eröffnet BMW die Möglichkeit, fortschrittliche Beleuchtungstechniken auf Motorräder zu übertragen. Das Design erleichtert zudem die Montage des Systems an Motorrädern ohne Verkleidung. Ob diese Technologie einen echten Mehrwert bietet oder eher eine technische Spielerei ist, wird sich erst mit der Zeit und der Integration in Serienmotorräder zeigen.
[amazon bestseller=“BMW Motorrad“ items=“3″]















