Functions of the Can-Am Smart Helmet
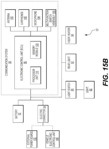
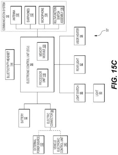
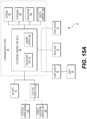
The planned helmet is by no means an ordinary model. According to Can-Am’s patent applications, the helmet includes a whole range of technical features that have been specially developed for use on the new electric motorcycles. One of the main functions is an integrated communication system. However, it is not yet clear whether this will be compatible with established brands such as Cardo or Sena.
The smart helmet also offers an interesting new feature: a heated visor. While many motorcyclists are familiar with pinlock visors that prevent fogging, this solution is an alternative that could be particularly useful in cold weather conditions. However, critics see the complexity of this solution as questionable, as pinlock systems are considered sufficiently effective.
Safety aspects: Rear light and flashlight
Safety is also at the forefront of the helmet’s development. An integrated rear light is intended to ensure better visibility in poor light conditions. In addition, a flashlight is attached to the side of the helmet, which is powered by its own battery. This can also be removed and used independently of the helmet, which could be particularly practical if, for example, the motorcycle’s battery runs out unexpectedly.
Technical details
As with many patents, the exact technical specifications are still somewhat opaque. However, it is clear that the helmet will have a battery to power the communication system, speakers, microphone and lighting. It remains to be seen whether Can-Am will also integrate additional features such as cameras or a head-up display, as is already the case with some other smart helmets.
Potential challenges: The communication system
One potential disadvantage of the Can-Am Smart Helmet could be that it is tied to the integrated communication system. Many motorcyclists already prefer established systems such as Cardo or Sena and are familiar with their operation. A proprietary system could lead to the helmet’s target group being restricted, as not every rider is prepared to accept a new user interface.
In addition, many riders use different helmets for different riding conditions and a brand-specific communication system in every helmet may be perceived as impractical.
Conclusion
It remains to be seen whether the Can-Am Smart Helmet will revolutionize the market or whether it is just another technical gimmick. The project is currently still in the patent phase and it is not certain when or if the helmet will go into production. However, one thing is clear: Can-Am is focusing on technology and innovation to support their new electric models, the Origin and Pulse.
Technical data (expected):
- Heated visor: alternative to the Pinlock system
- Integrated communication system: manufacturer compatibility still unclear
- Rear light and flashlight: For better visibility and additional functionality
- Battery-powered: For powering the communication system, speakers, microphone and lights
- Price still unknown
[amazon bestseller=”Motorrad Smart Helm” items=”3″]








