Modular design for drive and chassis
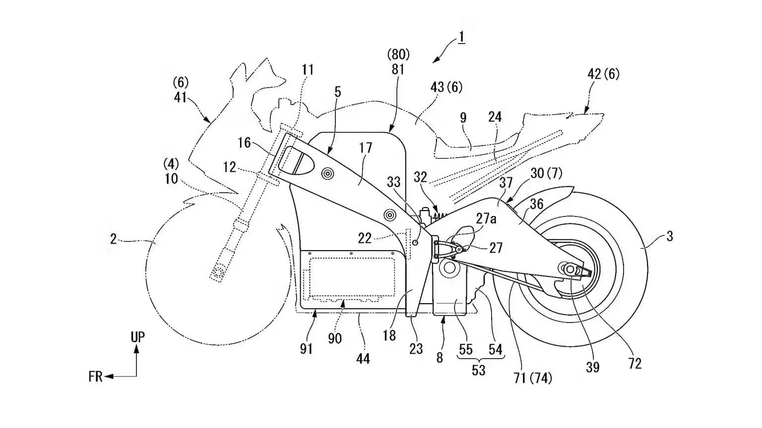
A central element of the patent is the modular concept: the motor, swing arm, and rear suspension are designed as a single unit and can be flexibly adapted to different chassis designs. This design differs from conventional motorcycles and offers advantages in terms of battery and electronics integration. Particularly striking is the placement of the motor and transmission, which are located at the rear of the chassis, deep in the swing arm. The drive pinion is eccentrically positioned in the motor, indicating a reduction gear. This creates more space in the main frame for large energy storage devices and an extended swing arm with a short wheelbase.
Experience from the Mugen Shinden project
Between 2012 and 2019, Honda gained extensive experience with electric motorcycles at the Isle of Man Tourist Trophy. The Mugen Shinden team achieved six consecutive victories there between 2014 and 2019, including with riders Michael Rutter and John McGuinness. The technical solutions shown in the new patent drawings are very reminiscent of the most recent prototypes of the Mugen racers.
Detailed design solutions
In the current patent, the drive unit with motor, swing arm axle, and shock absorber attachment sits on a solid cast aluminum block. This unit is attached to the rear of the main frame with three large bolts. The high-voltage wiring also ends at this mounting point. According to the patent application, the load on the main frame remains the same – regardless of whether a more powerful motor is installed. This is made possible by the stable unit of drive and swing arm, which is structurally connected to the main frame.
The suspension strut is located horizontally above the motor and integrated centrally into the swing arm. This compact design is intended to enable balanced handling while offering a great deal of flexibility for different chassis concepts.
Future prospects: Honda plans comprehensive electrification
According to its own statements, Honda plans to launch around 30 new electric models by 2030, including retro bikes and electric scooters. Although the market for electric super sports bikes is still considered to be cautious in mid-2025, Honda seems to be specifically preparing for future developments. New battery technologies such as solid-state or sodium-ion batteries could significantly increase the potential of electric motorcycles in the coming years.
Conclusion
Although the patent application is no guarantee of series production, the detailed sketches and proximity to existing prototypes indicate an advanced stage of development. Honda is thus positioning itself as one of the manufacturers that wants to be prepared in the field of electric super sports bikes as soon as the technology and market are ready.
- CE Zertifiziert: Die herausnehmbaren Gelenkprotektoren sind zertifiziert nach EN 1621-1:2012, Level 2 und der herausnehmbare Rückenprotektor ist CE zertifiziert nach EN 1621-2:2014, Level 2 – somit…
- Vielseitig einsetzbar: Neben dem Motorrad ist die Super Shield Protektorenjacke auch zum Ski- und MTB-Fahren sowie zum Reiten geeignet – somit kann ein Rückenprotektor Ski, Rückenprotektor Motorrad,…
- Fester Sitz: Die Daumenschlaufe und der Klettriegel am Unterarm sorgen für einen festen Sitz der Gelenkprotektoren und beugen dem Verrutschen vor – bei dem Rückenprotektor sorgt der elastische…
- Atmungsaktiv: Der Rückenprotektor und die Polster sind für eine höhere Atmungsaktivität mit 3D Mesh unterlegt – dadurch kann die Feuchtigkeit (z.B. durch Schwitzen) besser nach außen gelangen und…
- Durchdachtes Design: Der Frontreißverschluss verfügt über eine Zippergarage, in welcher dieser “verschwinden” kann, für mehr Bequemlichkeit – außerdem ist das elastische Außenmaterial aus 90%…
Letzte Aktualisierung am 2025-11-11 / *Affiliate Links / Bilder von der Amazon Product Advertising API


















