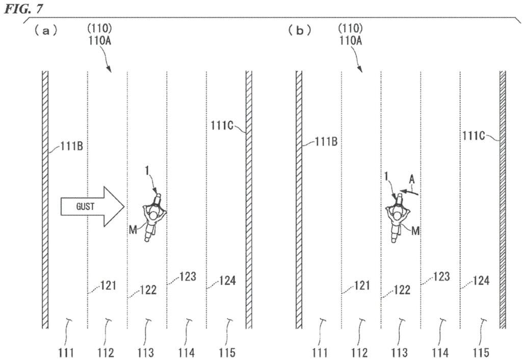
A new approach to crosswind compensation
In one of its latest patents, Honda describes a system designed to specifically minimize the impact of crosswinds. The system uses algorithms based on data from a variety of sensors to keep the motorcycle stable. By dividing the road into virtual lanes, the system can make precise corrections to keep the motorcycle on the desired path.
A comprehensive safety system
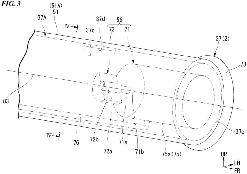
At the heart of this system is a servo-assisted steering unit located between an active steering damper and an autonomous steering system. This device, mounted behind the steering head, enables steering controlled by an on-board computer through a simple arm and connection system. The computer processes information from various sensors to interpret the driver’s intentions and act accordingly.
Enhanced driver support through haptic feedback
In addition to wind compensation, Honda is developing a haptic feedback system that provides feedback to the rider through vibrations in the handlebars. This technology uses a principle already familiar from the world of video games to transmit warnings and instructions through varying vibration patterns. This feedback could be particularly useful for lane keeping and blind spot monitoring.
The challenge of driver assistance systems
The integration of rider assistance systems into motorcycles raises questions about the balance between technological support and maintaining riding dynamics. While similar systems are already established in automobiles, their application on motorcycles requires a careful balance between benefits and interference with riding control.
Summary: A look into the future of motorcycle safety
Honda is showing a strong commitment to enhancing the safety and riding experience on motorcycles with its developments in rider assistance systems. With the introduction of technologies for crosswind compensation and haptic feedback, the company is providing new impetus for the industry.
[amazon bestseller=”Motorradtechnik” items=”3″]












