[ss_click_to_tweet tweet=“Honda arbeitet an einem Elektromotorrad mit Retro-Look – auch in der MOTORRAD NACHRICHTEN APP“ content=“Honda arbeitet an einem Elektromotorrad mit Retro-Look – auch in der MOTORRAD NACHRICHTEN APP“ style=“default“]
Patentanmeldungen zeigen, dass Honda an einem Elektromotorrad arbeitet, das aber nicht auf eine futuristische Optik setzt. Im Gegenteil der Retro-Look der CB125R soll für das Elektromotorrad übernommen werden.
Da mehrere Dokumente aufgetaucht sind, die verschiedene Aspekte desselben Designs zeigen, kann man davon ausgehen, dass Honda das Patent auch wirklich umsetzen möchte. Die Komponenten und das Layout der CB125R deuten auf ein kleineres, aber auch erschwingliches Elektromotorrad hin.
Honda scheint erkannt zu haben, dass vielen Motorradfahrern ein Umstieg auf Elektromotorräder schwerfällt. Um einen Umstieg möglichst leicht zu machen verzichten sie bewusst auf eine futuristische Optik, die den ein oder anderen zusätzlich abschrecken könnte. Man entschied sich für die bewährte Optik der auf Retro getrimmten CB125R.
Ähnlich hat es Honda auch schon beim Elektroroller PCX gemacht, der fast identisch mit der benzinbetriebenen Version ist.
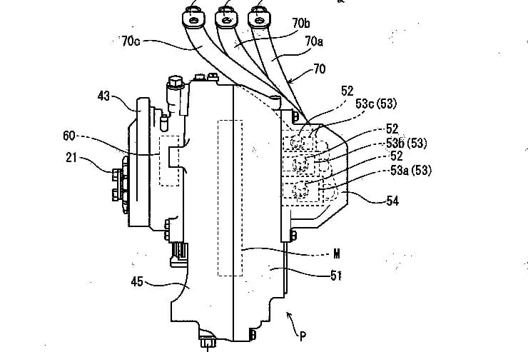
Das neue Design ist schlicht gehalten. Das serienmäßige Chassis, die Aufhängung und das bekannte Styling ist mit dem ölgekühlten Drei-Phasen-Elektromotor kombiniert. Das Hinterrad wird über ein einfaches Untersetzungsgetriebe per Kette angetrieben.
Der Motor und das Untersetzungsgetriebe wurden schlank gestaltet, um in den Rahmen der CB125R zu passen. Sie wurde an der Stelle platziert, wo normalerweise Motorunterteil und Getriebe an einem Benzinmotorrad sitzt. Die elektrische Steuereinheit ist am Platz des Zylinders und Kopfes, da sie dort auch recht gut gekühlt werden kann. Der Ölkühler für den Motor wird davor montiert, wo sonst der Wasserkühler sitzt.
Die Batterien sind unter der Tankattrappe und unter dem Fahrersitz zu finden. Es wirkt so, als wären sie unterschiedlich groß, was bedeuten würde, dass es sich nicht um die „Honda Mobile Power Pack“ -Batterien handelt, die Teil von Hondas geplantem Ökosystem sind und in Rasenmäher bis hin zu ATVs verwendet werden sollen.
Da viele bereits verfügbare Komponenten der CB125R genutzt werden, sollte das Motorrad relativ günstig zu produzieren sein. Die Leistung dürfte wohl auch auf Basis einer 125cc Maschine liegen, also bei rund 15 PS. Elektromotorräder werden allerdings auch gern mit zwei Leistungsstufen ausgestattet. 15 PS wäre demnach höchstwahrscheinlich die Dauerleistung, die kurzfristig erhöht werden könnte. Für einen Überholvorgang wäre eine Leistung von 30 PS durchaus realistisch.
Man darf gespannt sein was aus dem Patent wird.
[amazon box=“ B00RN90EZM „]















