[ss_click_to_tweet tweet=“Patente zu Nortons Kompressor Superlight SS – auch in der MOTORRAD NACHRICHTEN APP“ content=“Patente zu Nortons Kompressor Superlight SS – auch in der MOTORRAD NACHRICHTEN APP“ style=“default“]
Noch vor dem Konkurs von Norton kündigten sie einen Kleinserie der Superlght SS an, deren Twin per Kompressor aufgeladen werden sollte. Nach der Übernahme durch TVS steigen die Chancen wieder, dass das Motorrad wirklich gebaut wird. Zusätzlich sind einige Patentzeichnungen veröffentlicht worden.
Die angekündigte Superlight SS
Das Basis-Motorrad, die Superlight, wurde erstmals 2018 gezeigt und sollte von dem neuen 650cc Parallel-Twin mit 105 PS angetrieben werden. Das Trockengewicht wurde mit 158 kg angegeben und der Preis sollte bei 19.950 Pfund liegen. Das Doppelte war als Preis für die SS-Version geplant.
175 PS sollten ein Trockengewicht von nur 153 kg bewegen. Die Gewichtsersparnis, wobei man hier das Mehrgewicht durch den Kompressor nicht vergessen darf, wurde durch die Verwendung eines Chassis, einer Einarmschwinge und Rädern aus Carbon erreicht.
Zusätzlich sollte die Superlight SS mit einer NIX30 Gabel, TTX-GP-Dämpfer, Brembo M50 Bremsen, Quickshifter inkl. Blipperfunktion und IMU-gestützter Elektronik ausgestattet sein.
Patentanmeldungen verraten weitere Details
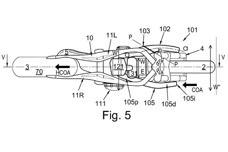
Die Patentzeichnungen zeigen wie die Luft an der Nase eingefangen wird. Die beiden seitlichen Einlässe, die sich neben dem Scheinwerfer befinden, haben allerdings unterschiedliche Aufgaben. Der linke Einlass versorgt den Kompressor mit der nötigen Luft.
Da ein Verdichten der Luft auch Wärme erzeugt, werden aufgeladene Motoren meist mit einem Ladeluftkühler ausgestattet. Damit soll die verdichtete Luft gekühlt werden, bevor sie die Einlässe des Motors erreicht. Norton nutzt hier ein Exemplar zwischen Kompressor und Einlass und nutzt dafür die Luft, die durch den rechten Einlass gesammelt wird.
Zusätzlich wird auch kühle Luft über einen Kanal geleitet, der an der rechten Seite der Verkleidung verläuft. Die warme Luft wiederum wird dann zurück zu einer Auslassöffnung unter dem Sitz geleitet. Hier nutzt man das gleiche Prinzip, dass auch die seltenen Motorräder mit einem Kühler unter dem Sitz verwenden. Es allerdings für die Kühlung eines Kompressors zu nutzen, ist neu.
Wann das Modell kommen wird ist noch offen. Auch eine offizielle Bestätigung gibt es von der „neuen Norton“ noch nicht. Die Patentzeichnungen lassen allerdings hoffen.
[amazon box=“B078HG38DW“]


















